授权公布号:CN210619445U
一种用于板材的翻板机
有效
申请
2019-06-24
申请公布
1970-01-01
授权
2020-05-26
预估到期
2029-06-24
| 申请号 | CN201920955707.6 |
| 申请日 | 2019-06-24 |
| 授权公布号 | CN210619445U |
| 授权公告日 | 2020-05-26 |
| 分类号 | B65G47/52;B65G47/252 |
| 分类 | 输送;包装;贮存;搬运薄的或细丝状材料; |
| 申请人名称 | 江苏德鲁尼木业有限公司 |
| 申请人地址 | 江苏省徐州市邳州市南京路东侧、文苑路南侧 |
专利法律状态
2020-05-26
授权
状态信息
授权
摘要
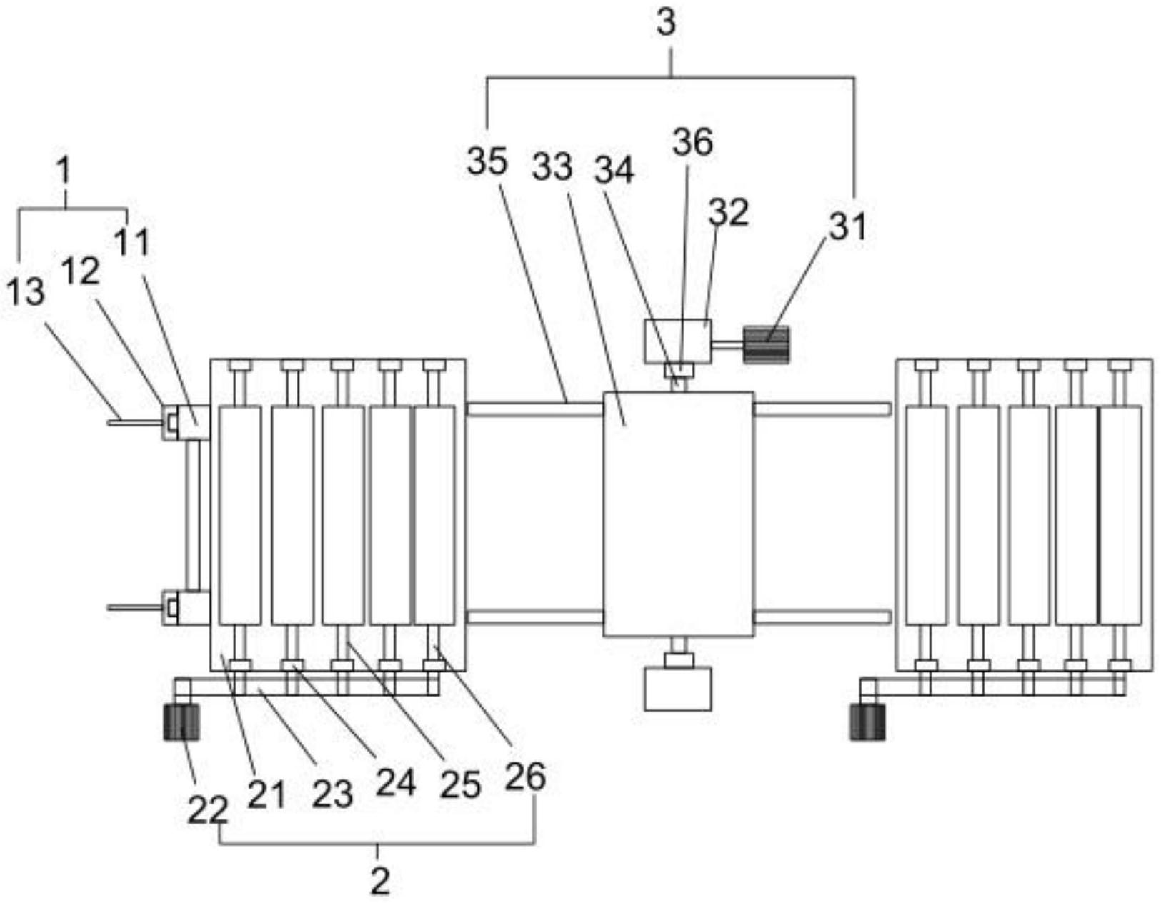
本实用新型涉及一种机械设备,具体的说是一种用于板材的翻板机,包括升降机构、运输机构、以及翻转机构;升降机构包括竖直滑轨、竖直滑块以及升降台,升降台通过竖直滑块滑动连接于竖直滑轨;运输机构包括支架、电机、皮带、轴承、滚轴以及滚筒;若干滚轴设置在支架上,滚轴两端通过轴承连接于支架,电机的输出轴通过皮带连接于滚轴;翻转机构包括翻转电机、座架、翻转滚筒、翻转滚轴、翻转插条以及翻转轴承;翻转滚轴通过翻转轴承连接于座架,座架的一侧设有翻转电机,翻转滚轴上设有翻转滚筒,翻转插条设置在翻转滚筒的两端。本实用新型装置能单板或批量翻转,支撑和翻转平稳,翻转效率高、耗时少,系统构造简单,造价降低。


