授权公布号:CN113601380B
一种便于上料的木地板抛光装置
有效
申请
2021-10-09
申请公布
2021-11-05
授权
2022-05-20
预估到期
2041-10-09
| 申请号 | CN202111175895.9 |
| 申请日 | 2021-10-09 |
| 申请公布号 | CN113601380A |
| 申请公布日 | 2021-11-05 |
| 授权公布号 | CN113601380B |
| 授权公告日 | 2022-05-20 |
| 分类号 | B24B29/02;B24B55/06;B24B41/00;B24B27/00;B24B41/02;B24B47/12 |
| 分类 | 磨削;抛光; |
| 申请人名称 | 江苏德鲁尼木业有限公司 |
| 申请人地址 | 江苏省徐州市邳州市官湖镇平果路6号 |
专利法律状态
2022-05-20
授权
状态信息
授权
2021-11-05
公布
状态信息
公布
摘要
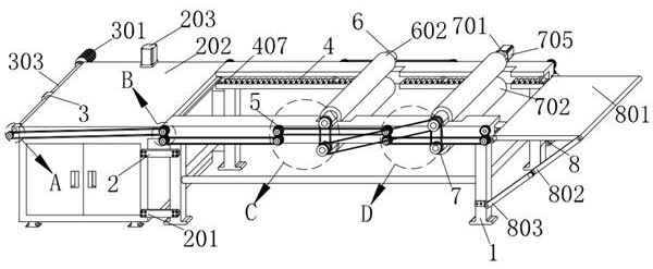
本发明涉及木地板抛光技术领域,具体是一种便于上料的木地板抛光装置,包括底架,所述底架上安装有升降结构,所述升降结构上安装有送料结构,所述底架上安装有输送结构,所述输送结构上安装有传动结构,所述底架上安装有抛光结构,所述底架上安装有清理结构,所述底架上安装有卸料结构。升降结构便于对木地板进行上料,通过卸料结构能够防止在抛光完成后木地板直接掉落造成损坏,通过在升降结构上安装送料结构,能够简单方便省力的将木地板进行送料,然后通过输送结构能够将木地板匀速移动,便于对木地板表面进行抛光,同时通过传动结构能够在送料结构进行工作时带动输送结构进行工作,能够均速对木地板进行送料和输送。


