授权公布号:CN210616792U
一种木材的快速切割装置
有效
申请
2019-06-24
申请公布
1970-01-01
授权
2020-05-26
预估到期
2029-06-24
| 申请号 | CN201920954546.9 |
| 申请日 | 2019-06-24 |
| 授权公布号 | CN210616792U |
| 授权公告日 | 2020-05-26 |
| 分类号 | B27C5/00;B27C5/06 |
| 分类 | 木材或类似材料的加工或保存;一般钉钉机或钉U形钉机; |
| 申请人名称 | 江苏德鲁尼木业有限公司 |
| 申请人地址 | 江苏省徐州市邳州市南京路东侧、文苑路南侧 |
专利法律状态
2020-05-26
授权
状态信息
授权
摘要
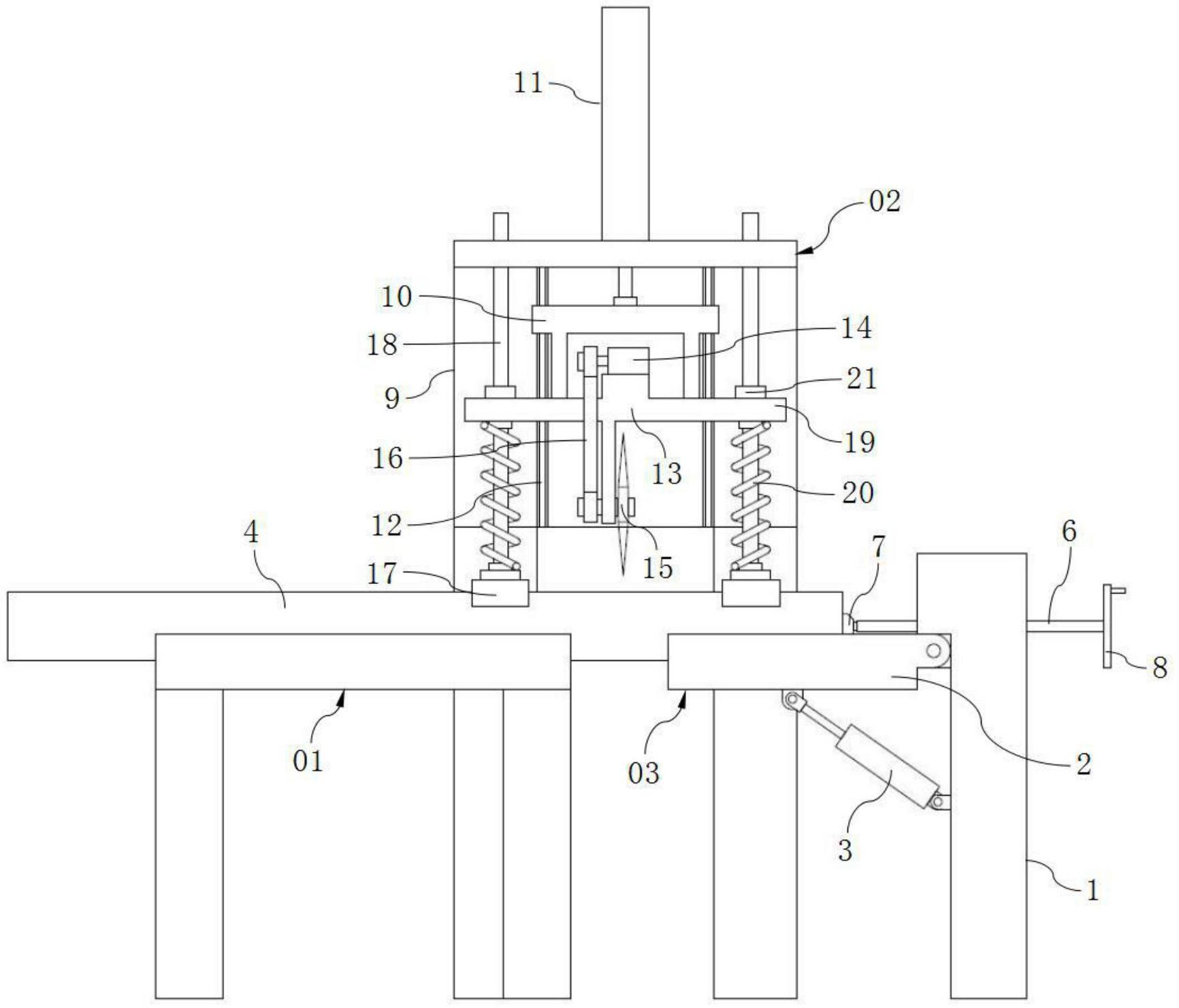
本实用新型提供一种木材的快速切割装置,包括支撑装置、切割装置和下料装置,所述支撑装置与下料装置之间留有间隙,切割装置位于所述间隙的上方并能够沿竖直方向移动,所述下料装置包括支架、支撑板和气缸,所述支撑板的一端铰接于支架相对于支撑装置的一侧,支撑板与支撑装置之间留有所述间隙,所述气缸的一端铰接于支撑板的下表面,气缸的另一端铰接于支架上,木材能够从支撑装置上运送至支撑板上。本实用新型能够实现自动化的切割、下料作业,提高工作效率。


