授权公布号:CN209615911U
用于连体座便器的高压注浆生产系统
有效
申请
2018-11-30
申请公布
1970-01-01
授权
2019-11-12
预估到期
2028-11-30
| 申请号 | CN201822015666.0 |
| 申请日 | 2018-11-30 |
| 授权公布号 | CN209615911U |
| 授权公告日 | 2019-11-12 |
| 分类号 | B28B13/02;B28B17/00 |
| 分类 | 加工水泥、黏土或石料; |
| 申请人名称 | 杜拉维特(中国)洁具有限公司 |
| 申请人地址 | 重庆市江津区珞璜工业园B区园区大道88号 |
专利法律状态
2019-11-12
授权
状态信息
授权
摘要
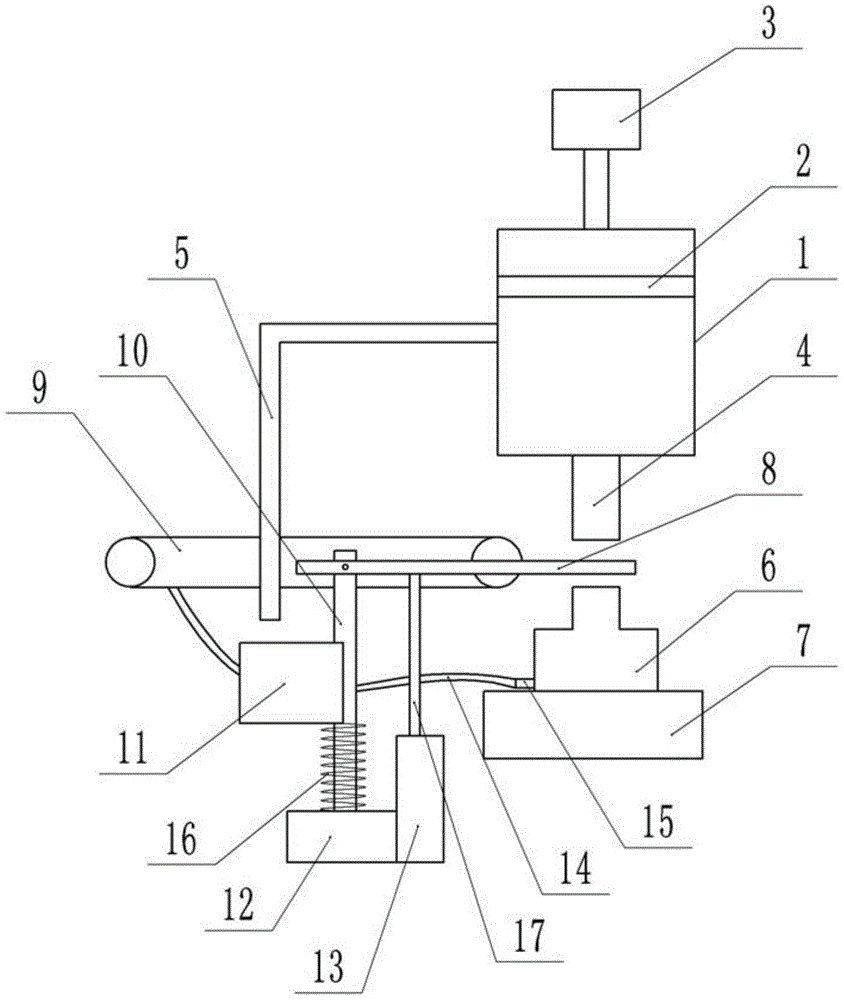
本实用新型涉及卫生陶瓷加工领域,尤其涉及用于连体座便器的高压注浆生产系统,包括盛装桶和模具,盛装桶的底部设有注浆管,模具上设有注浆口,还包括固定件和使盛装桶竖向移动的气缸,固定件上转动连接有竖直设置的竖杆,竖杆上设有第一楔块,竖杆与固定件之间连接有第一扭簧,竖杆上连接有接料板,接料板可与注浆管正对;盛装桶上设有可与第一楔块相抵的第一相抵杆。本方案防止了注浆管外侧上粘有的浆料掉落到模具外侧和加工台上,防止了浆料的浪费。


