授权公布号:CN211735648U
一种尿液分配装置及马桶
有效
申请
2019-12-16
申请公布
1970-01-01
授权
2020-10-23
预估到期
2029-12-16
| 申请号 | CN201922257535.8 |
| 申请日 | 2019-12-16 |
| 授权公布号 | CN211735648U |
| 授权公告日 | 2020-10-23 |
| 分类号 | E03D11/02 |
| 分类 | 给水;排水; |
| 申请人名称 | 和成(中国)有限公司 |
| 申请人地址 | 江苏省苏州市吴中区甪直大道115号 |
专利法律状态
2020-10-23
授权
状态信息
授权
摘要
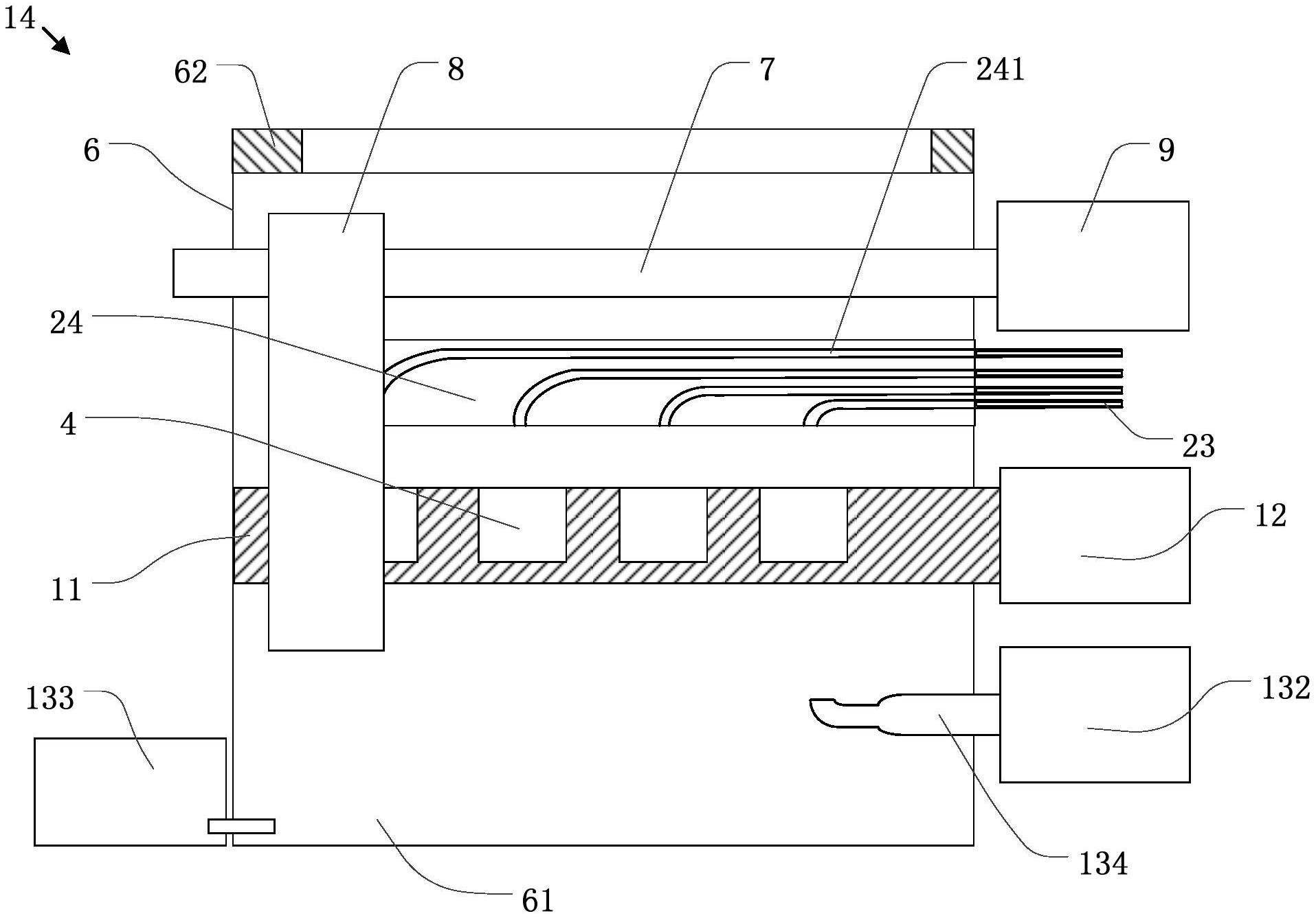
本实用新型公开了一种尿液分配装置及马桶。马桶包括尿液分配装置,尿液分配装置包括尿液计量泵以及尿液分配器;所述尿液计量泵的进液口通过导管连通于一尿液收集装置;所述尿液分配器连通于所述尿液计量泵的出液口;所述尿液分配装置的出液口可选择地连接至多个输尿管。本实用新型实现了在日常生活中即能随时检测尿液来了解自身健康状况的技术问题,能够自动的收集尿液、检测尿液,结构简单,使用方便,尿液收集装置为医用产品,尿液检测盒能够自动清洗,卫生清洁,尿液检测成本低,能够一次性检测尿液的多种组分,预测人体健康状况,有效的预防了隐性或慢性疾病。


