授权公布号:CN112160390B
一种用于清洁人体部位的超声射流洗净装置
有效
申请
2020-08-21
申请公布
2021-01-01
授权
2021-12-17
预估到期
2040-08-21
| 申请号 | CN202010846066.8 |
| 申请日 | 2020-08-21 |
| 申请公布号 | CN112160390A |
| 申请公布日 | 2021-01-01 |
| 授权公布号 | CN112160390B |
| 授权公告日 | 2021-12-17 |
| 分类号 | E03D9/08 |
| 分类 | 给水;排水; |
| 申请人名称 | 欧路莎股份有限公司 |
| 申请人地址 | 浙江省台州市路桥区横街镇工业区 |
专利法律状态
2023-09-22
专利权质押合同登记的生效、变更及注销
状态信息
专利权质押合同登记的生效;IPC(主分类):E03D9/08;专利号:ZL2020108460668;登记号:Y2023330001937;登记生效日:20230905;出质人:欧路莎股份有限公司;质权人:上海浦东发展银行股份有限公司台州分行;发明名称:一种用于清洁人体部位的超声射流洗净装置;申请日:20200821;授权公告日:20211217
2021-12-17
授权
状态信息
授权
2021-01-19
实质审查的生效
状态信息
实质审查的生效;IPC(主分类):E03D9/08;申请日:20200821
2021-01-01
公布
状态信息
公布
摘要
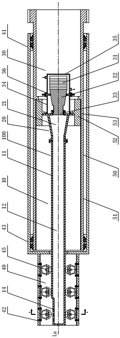
一种用于清洁人体部位的超声射流洗净装置,包括喷杆机构(10)、切换阀(20)和超声发生装置(30),所述切换阀(20)同轴线延伸地连接于喷杆机构(10)尾部形成射流机构(100),射流机构(100)尾部连接所述超声发生装置(30);射流机构(100)连接所述驱动机构(50),所述驱动机构(50)驱动射流机构(100)沿直线轴线(L<sub>0</sub>)或沿凸圆弧曲线(a<sub>0</sub>)在伸出位置和缩回位置之间滑动,在伸出位置,超声发生装置(30)和水泵同时启动,所述射流机构(100)朝向人体部位射出超声射流(UF)。所述超声射流洗净装置,在固定套筒中实现喷杆体的伸缩移动的同时实现超声射流,保证喷杆体灵活伸缩且不震颤,相比无超声射流的洗净装置,清洁率提高至少28%。


