授权公布号:CN217764492U
一种节能隧道窑废气余热利用系统
有效
申请
2022-07-12
申请公布
1970-01-01
授权
2022-11-08
预估到期
2032-07-12
| 申请号 | CN202221802328.1 |
| 申请日 | 2022-07-12 |
| 授权公布号 | CN217764492U |
| 授权公告日 | 2022-11-08 |
| 分类号 | F27D17/00;F23J15/02;B01D46/10;B01D46/681 |
| 分类 | 炉;窑;烘烤炉;蒸馏炉〔4〕; |
| 申请人名称 | 佛山市美加华陶瓷有限公司 |
| 申请人地址 | 广东省佛山市三水区白坭镇三水大道南82号(F3) |
专利法律状态
2022-11-08
授权
状态信息
授权
摘要
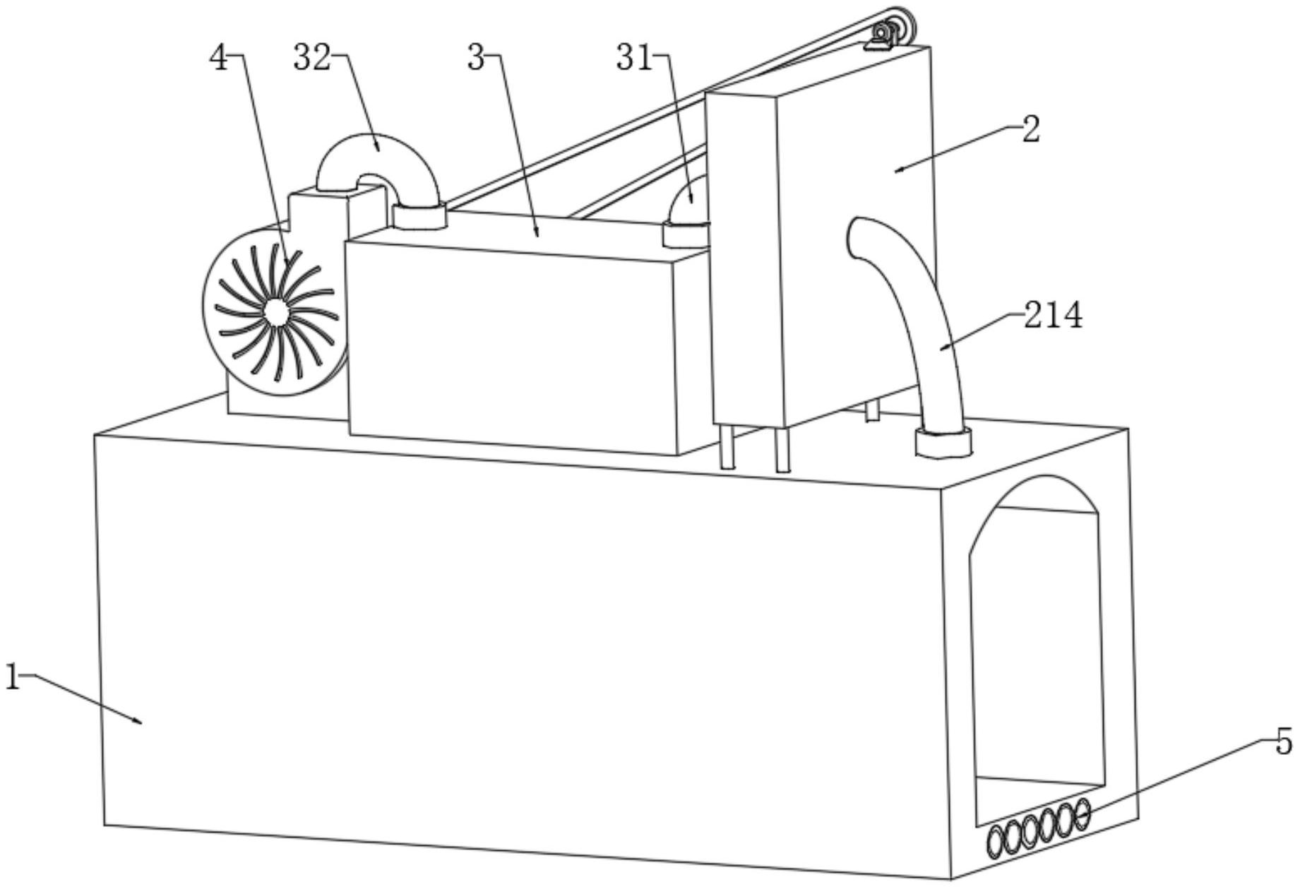
本实用新型公开了隧道窑技术领域的一种节能隧道窑废气余热利用系统,包括隧道窑本体,隧道窑本体的上表面固定连接有依次相通的风机、换热器和过滤机构,过滤机构包括固定连接在隧道窑本体上表面的过滤箱,过滤箱的内部固定连接有过滤网,过滤箱的内部转动连接有往复丝杆,往复丝杆的圆周面螺纹连接有毛刷,往复丝杆的一端固定连接有第一锥齿轮,过滤箱的内下表面设置有环形槽,环形槽的内部转动连接有第一转杆,第一转杆的圆周面固定连接有排灰架和第二锥齿轮,第一锥齿轮和第二锥齿轮相互啮合,本实用新型减少了造价成本,并且可以将过滤网上附着的灰尘自动清理并排入,无需对过滤网进行拆卸清理,减少了工作人员的工作强度。


