授权公布号:CN218394182U
一种应用在花洒上的注射式香薰弹的密封结构
有效
申请
2022-05-23
申请公布
1970-01-01
授权
2023-01-31
预估到期
2032-05-23
| 申请号 | CN202221247099.1 |
| 申请日 | 2022-05-23 |
| 授权公布号 | CN218394182U |
| 授权公告日 | 2023-01-31 |
| 分类号 | B05B1/18;B05B15/00;E03C1/046 |
| 分类 | 一般喷射或雾化;对表面涂覆液体或其他流体的一般方法〔2〕; |
| 申请人名称 | 莎丽科技股份有限公司 |
| 申请人地址 | 广东省中山市南朗镇南朗工业园 |
专利法律状态
2023-01-31
授权
状态信息
授权
摘要
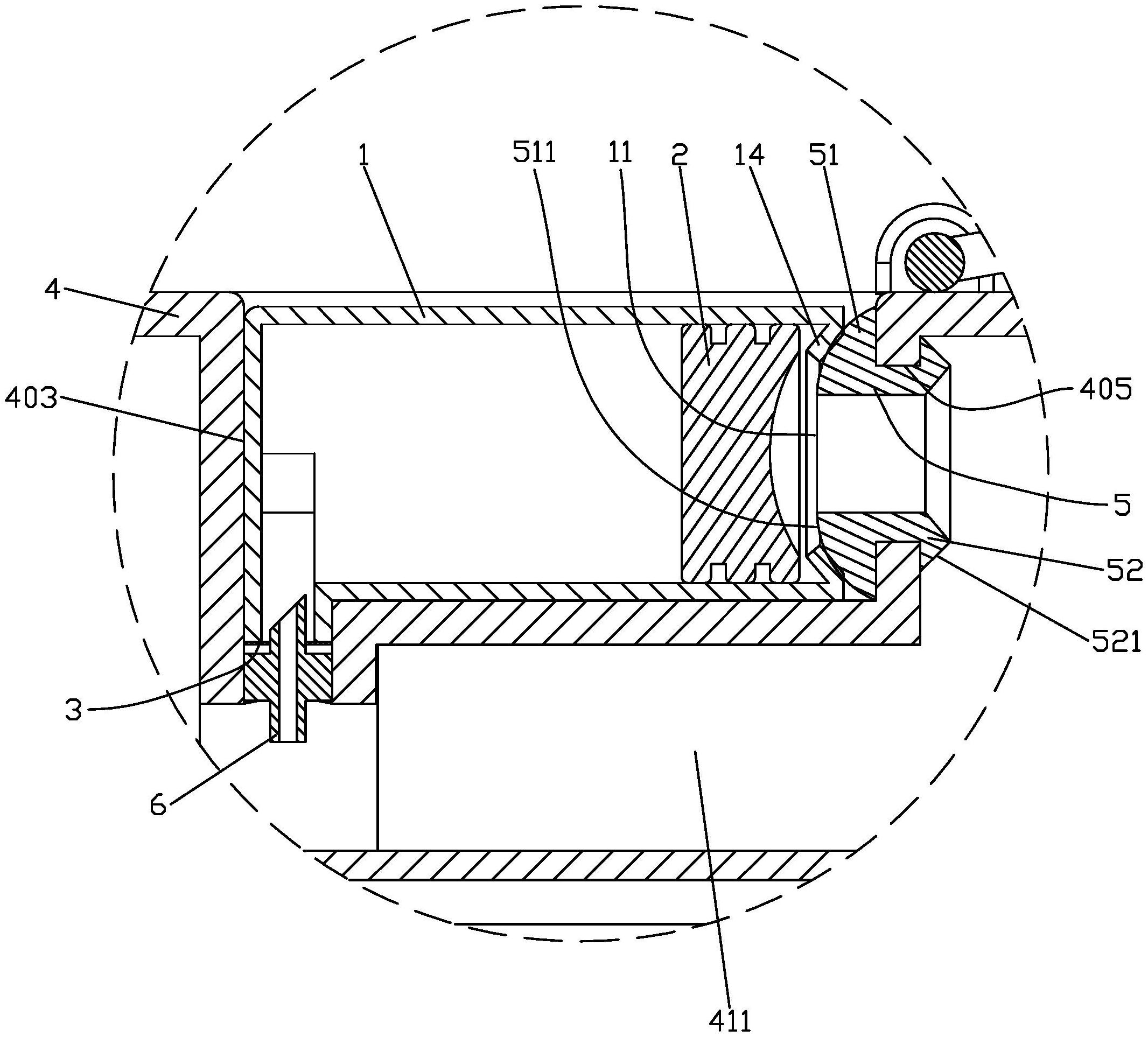
本实用新型公开了一种应用在花洒上的注射式香薰弹的密封结构,包括花洒头,花洒头上设置有过水通道和安装槽,安装槽内可拆卸地安装有香薰容器,香薰容器首端的端面上设置有第一开口,香薰容器的另一端设置有第二开口和封闭第二开口的封口膜,香薰容器内设置有与其滑动密封配合的活塞,活塞位于第一开口和第二开口之间,香薰容器内装有液态或半流体香薰,安装槽的内侧壁上设置有与过水通道导通的并与第一开口正对的导水孔,香薰容器首端的端面与花洒头之间设置有能够在第一开口和过水通道之间形成一封闭通道的弹性密封装置。这种密封结构简单紧凑,生产成本低,密封效果优异。


