授权公布号:CN203560542U
一种新型弹簧止回阀
有效
申请
2013-08-13
申请公布
1970-01-01
授权
2014-04-23
预估到期
2023-08-13
| 申请号 | CN201320492028.2 |
| 申请日 | 2013-08-13 |
| 授权公布号 | CN203560542U |
| 授权公告日 | 2014-04-23 |
| 分类号 | F16K27/02;F16K15/06 |
| 分类 | 工程元件或部件;为产生和保持机器或设备的有效运行的一般措施;一般绝热; |
| 申请人名称 | 辉煌水暖集团有限公司 |
| 申请人地址 | 福建省泉州市南安市仑苍镇辉煌工业园区 |
专利法律状态
2023-09-12
专利权的保全及其解除
状态信息
专利权保全的解除;IPC(主分类):F16K 27/02;专利号:ZL2013204920282;申请日:20130813;授权公告日:20140423;登记生效日:;解除日:20230813
2021-12-14
专利权的保全及其解除
状态信息
专利权的保全;IPC(主分类):F16K27/02;申请日:20130813;授权公告日:20140423;登记生效日:20211101
2020-08-07
专利权的保全及其解除
状态信息
专利权保全的解除;IPC(主分类):F16K27/02;申请日:20130813;授权公告日:20140423;解除日:20200615
2016-07-20
专利权的保全及其解除
状态信息
专利权的保全;IPC(主分类):F16K27/02;申请日:20130813;授权公告日:20140423;登记生效日:20160615
2015-12-30
专利权的保全及其解除
状态信息
专利权的保全;IPC(主分类):F16K27/02;申请日:20130813;授权公告日:20140423;登记生效日:20151119
2014-04-23
授权
状态信息
授权
摘要
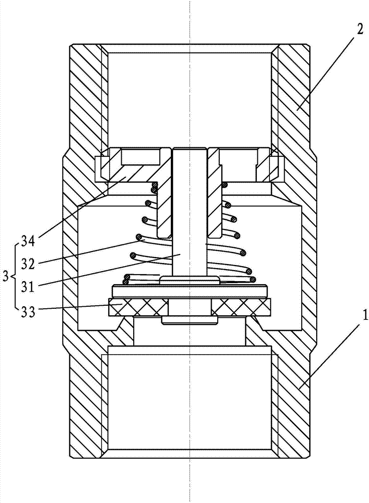
本实用新型提出一种弹簧止回阀,包括阀体和阀盖,阀体与阀盖为一体结构;阀芯包括阀瓣、弹簧、橡胶垫片和压圈;所述弹簧套装于所述阀瓣外,并张设于所述压圈与所述橡胶垫片之间;所述弹簧为由所述压圈至所述橡胶垫片逐渐变粗的锥形弹簧;所述压圈通过导向孔与所述阀瓣滑动限位,且所述压圈在所述导向孔处对应所述阀瓣设有导向凸缘;所述压圈与所述阀盖螺纹连接在一起。采用上述技术方案后,本实用新型克服传统弹簧止回阀阀体与阀盖连接需通过螺纹或胶合等方式带来的工序复杂和密封性差而易发生流体泄漏等缺陷;与现有技术相比,本实用新型的弹簧止回阀,其工序简洁,密封性强,可有效避免流体泄漏等情况发生,结构简单合理,实用性强。


