授权公布号:CN219080505U
一种升降式面盆水龙头
有效
申请
2022-12-26
申请公布
1970-01-01
授权
2023-05-26
预估到期
2032-12-26
| 申请号 | CN202223595588.9 |
| 申请日 | 2022-12-26 |
| 授权公布号 | CN219080505U |
| 授权公告日 | 2023-05-26 |
| 分类号 | E03C1/04 |
| 分类 | 给水;排水; |
| 申请人名称 | 宁波奥雷士洁具有限公司 |
| 申请人地址 | 浙江省宁波市奉化区方桥街道新建东路1号 |
专利法律状态
2023-05-26
授权
状态信息
授权
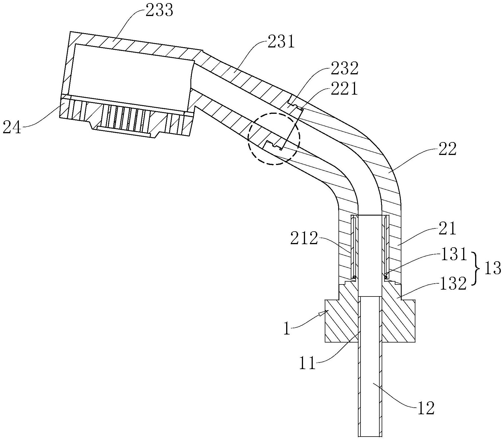
摘要
本申请涉及一种升降式面盆水龙头,属于水龙头技术领域。其包括安装底座、水龙头主体以及开关组件,所述开关组件设置于所述安装底座顶面,所述水龙头主体升降安装于所述安装底座,所述水龙头主体包括安装于所述安装底座的安装管、连接管以及用于出水的出水管,所述安装管、所述连接管以及所述出水管均同轴连通。本申请具有能够调节水龙头和面盆之间的距离以满足用户不同的生活需求的效果。


