授权公布号:CN209018570U
牙具座
有效
申请
2018-06-21
申请公布
1970-01-01
授权
2019-06-25
预估到期
2028-06-21
| 申请号 | CN201820959991.X |
| 申请日 | 2018-06-21 |
| 授权公布号 | CN209018570U |
| 授权公告日 | 2019-06-25 |
| 分类号 | A47K5/18 |
| 分类 | 家具;家庭用的物品或设备;咖啡磨;香料磨;一般吸尘器; |
| 申请人名称 | 柳州两面针股份有限公司 |
| 申请人地址 | 广西壮族自治区柳州市东环路282号 |
专利法律状态
2019-06-25
授权
状态信息
授权
摘要
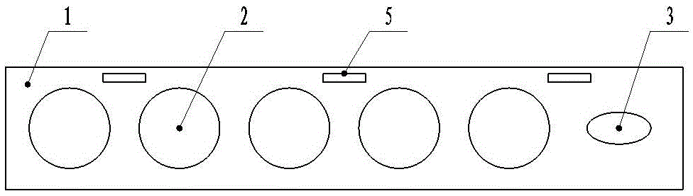
本实用新型公开一种牙具座,涉及卫生洁具技术领域,它具有底部及两端开口的长槽状的座体,该座体顶面上间隔设置有多个通孔,该座体正面上于每个所述通孔的对应位置上设置有物件卡槽;与现有技术相比,由于本实用新型的座体顶面上间隔设置有多个通孔,不同的牙膏和牙刷可以分别插在这些通孔内,保持牙具离地,座体底面及两端开口,可供空气流通,保持牙膏牙刷底部的干燥,不容易孳生细菌真菌;座体正面上开有物件卡槽,可用来插接标识卡,便于儿童识别;本牙具座适合于摆放儿童牙具。


