授权公布号:CN215381031U
一种驱蚊及驱螨的贴剂
有效
申请
2021-06-22
申请公布
1970-01-01
授权
2022-01-04
预估到期
2031-06-22
| 申请号 | CN202121392429.1 |
| 申请日 | 2021-06-22 |
| 授权公布号 | CN215381031U |
| 授权公告日 | 2022-01-04 |
| 分类号 | A01M29/12 |
| 分类 | 农业;林业;畜牧业;狩猎;诱捕;捕鱼; |
| 申请人名称 | 汕头市金龙日化实业有限公司 |
| 申请人地址 | 广东省汕头市金园工业区揭阳路11片区2F、3F |
专利法律状态
2022-01-04
授权
状态信息
授权
摘要
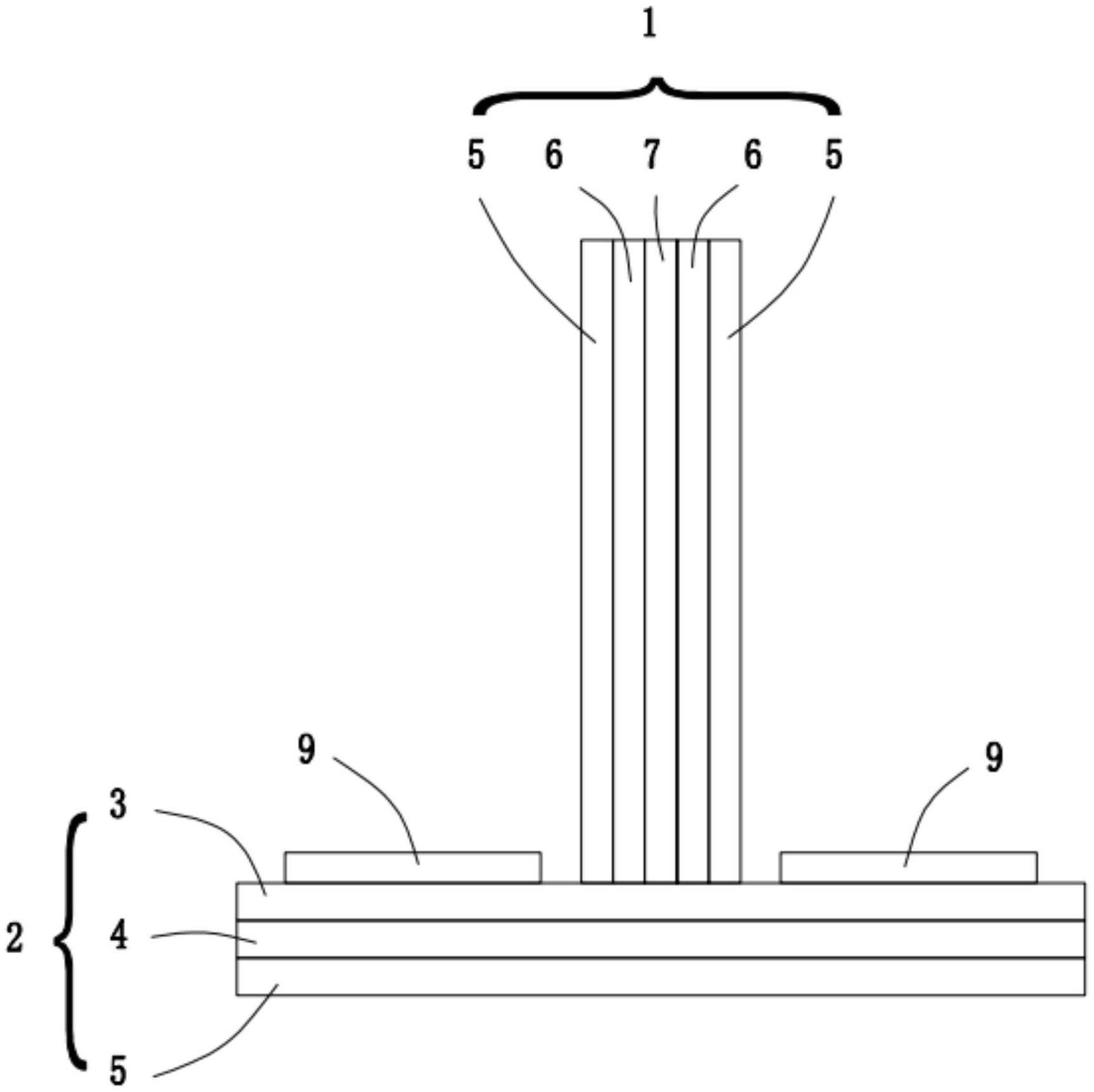
本实用新型提出了一种驱蚊及驱螨的贴剂,涉及驱虫贴剂技术领域,包括药剂片和用于与外部物体粘接的粘贴片,药剂片的边沿与粘贴片连接。药剂片仅边沿与粘贴片连接,相对于传统的需要将整个壁面贴合在墙面或其它物品上的驱蚊贴等贴剂,药剂片的两侧壁面能够全部暴露在空气中,增加了在空气中暴露的面积,从而改善药剂向空气中扩散的效果。


