授权公布号:CN205398161U
带杀菌多功能过滤器
有效
申请
2016-02-23
申请公布
1970-01-01
授权
2016-07-27
预估到期
2026-02-23
| 申请号 | CN201620136083.1 |
| 申请日 | 2016-02-23 |
| 授权公布号 | CN205398161U |
| 授权公告日 | 2016-07-27 |
| 分类号 | C02F1/32;C02F1/50;C02F1/00;A01K63/04 |
| 分类 | 水、废水、污水或污泥的处理; |
| 申请人名称 | 广州日创橡塑电器有限公司 |
| 申请人地址 | 广东省广州市番禺区南村镇江南村兴业路南侧首层、二层 |
专利法律状态
2016-07-27
授权
状态信息
授权
摘要
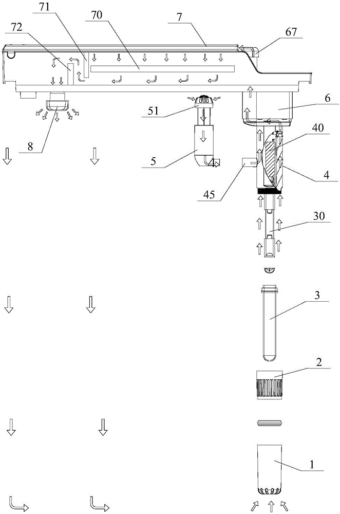
本实用新型公开了一种带杀菌多功能过滤器,包括依次连接的吸水篮、杀菌管、水泵、过滤室和喷嘴,吸水篮置于水底,过滤室呈与水族箱的长度方向一致的长条形且水平设置,与杀菌管垂直,过滤室内部沿其长度方向设有过滤板,水泵的入水口上还设有除油器,除油器上设有用于进水的副吸水篮。本实用新型,将过滤室设置为与水族箱的长度方向一致的长条形,可水平设置在水面上方,不过多地占用水下空间,避免影响水族箱内活动生物的生存空间,过滤室的过滤板相比现有技术更长,延长了水流在过滤室内的过滤时间,提高过滤效果,除油器直接与水泵相通,可大大减少粘附在杀菌灯管上的油污量,让杀菌灯的光线穿透力更好,避免油污过多影响杀菌效果。


