授权公布号:CN214172481U
一种弥散型新风净化装置
有效
申请
2020-09-14
申请公布
1970-01-01
授权
2021-09-10
预估到期
2030-09-14
| 申请号 | CN202021997971.5 |
| 申请日 | 2020-09-14 |
| 授权公布号 | CN214172481U |
| 授权公告日 | 2021-09-10 |
| 分类号 | F24F8/108;F24F8/192;F24F8/167;F24F8/22;F24F8/30;F24F13/02;F24F13/24 |
| 分类 | 供热;炉灶;通风; |
| 申请人名称 | 上海复荣科技(集团)有限公司 |
| 申请人地址 | 上海市普陀区中山北路1958号3103室 |
专利法律状态
2021-09-10
授权
状态信息
授权
摘要
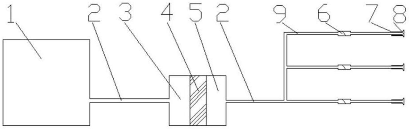
本实用新型公开了新风净化技术领域的一种弥散型新风净化装置,包括空气空压机,主管道,进风口静压箱,净化模组,出风口静压箱,电磁阀,消音段,出风口;所述净化模组两侧分别设置有进风口静压箱、出风口静压箱,所述空气空压机与进风口静压箱通过管道连接,所述出风口静压箱向外侧连接有主管道;所述主管道末端分散连接有支管,所述支管道上依次设置有电磁阀、消音端及出风口。本实用新型净化效果好,施工维护方便,噪音小,能耗低,实用性能较好。


