授权公布号:CN212896676U
一种裙边冲水喷嘴及裙边冲水组件
有效
申请
2020-07-29
申请公布
1970-01-01
授权
2021-04-06
预估到期
2030-07-29
| 申请号 | CN202021537916.8 |
| 申请日 | 2020-07-29 |
| 授权公布号 | CN212896676U |
| 授权公告日 | 2021-04-06 |
| 分类号 | E03D11/02;E03D11/13 |
| 分类 | 给水;排水; |
| 申请人名称 | 浙江星星便洁宝有限公司 |
| 申请人地址 | 浙江省台州市椒江区洪家后高桥村(星星电子产业基地A7幢) |
专利法律状态
2023-12-12
专利权质押合同登记的生效、变更及注销
状态信息
专利权质押合同登记的生效;IPC(主分类):E03D 11/02;专利号:ZL2020215379168;登记号:Y2023330002783;登记生效日:20231124;出质人:浙江星星便洁宝有限公司;质权人:中国建设银行股份有限公司台州椒江支行;实用新型名称:一种裙边冲水喷嘴及裙边冲水组件;申请日:20200729;授权公告日:20210406
2023-11-17
专利权质押合同登记的生效、变更及注销
状态信息
专利权质押合同登记的注销;IPC(主分类):E03D 11/02;授权公告日:20210406;申请日:20200729;专利号:ZL2020215379168;登记号:Y2022330000991;出质人:浙江星星便洁宝有限公司;质权人:中国建设银行股份有限公司台州椒江支行;解除日:20231101
2022-07-05
专利权质押合同登记的生效、变更及注销
状态信息
专利权质押合同登记的生效;IPC(主分类):E03D11/02;登记号:Y2022330000991;登记生效日:20220616;出质人:浙江星星便洁宝有限公司;质权人:中国建设银行股份有限公司台州椒江支行;实用新型名称:一种裙边冲水喷嘴及裙边冲水组件;申请日:20200729;授权公告日:20210406
2021-04-06
授权
状态信息
授权
摘要
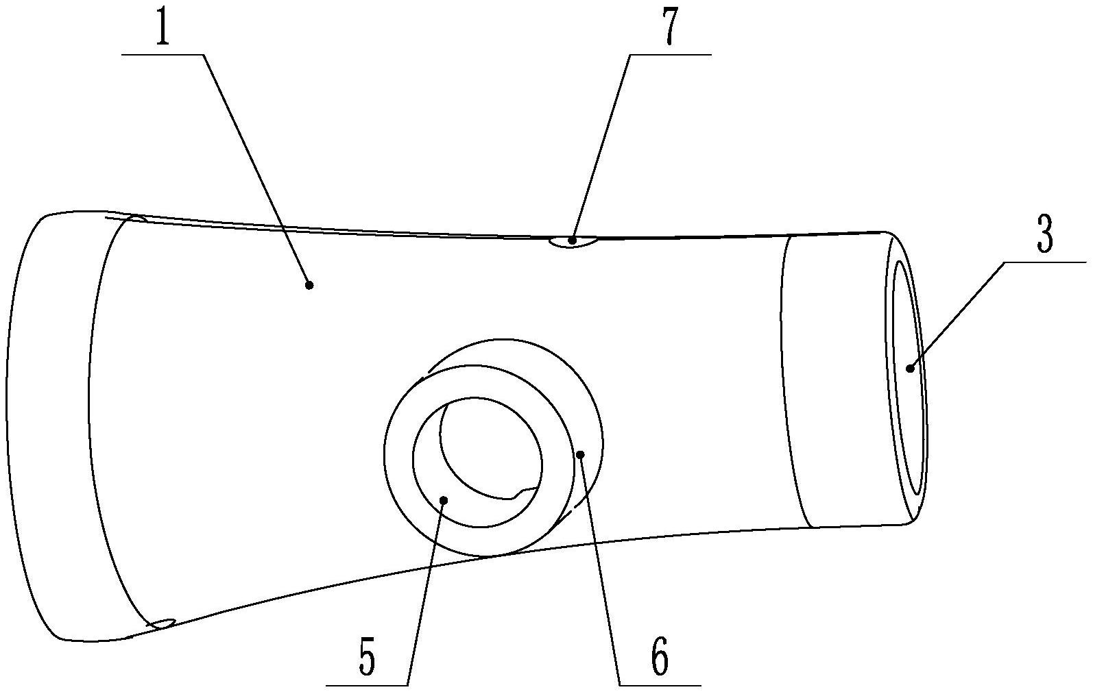
本实用新型属于卫浴技术领域,特指一种裙边冲水喷嘴及裙边冲水组件;所述裙边冲水喷嘴包括喷嘴本体,喷嘴本体内设置有水通道,喷嘴本体的一端为第一喷水口、另一端为连接端,所述喷嘴本体上靠近第一喷水口的侧壁上设置有第二喷水口;本实用新型设置的第一喷水口、第二喷水口可以从两个方向对裙边进行冲洗,解决了现有技术中因冲洗路程远导致裙边上部分位置冲洗不到的问题,大大提高了冲洗效果,具有一定的防溅水的作用。


