授权公布号:CN213508737U
一种智能马桶气动式冲水的泄压装置
有效
申请
2020-09-30
申请公布
1970-01-01
授权
2021-06-22
预估到期
2030-09-30
| 申请号 | CN202022202042.7 |
| 申请日 | 2020-09-30 |
| 授权公布号 | CN213508737U |
| 授权公告日 | 2021-06-22 |
| 分类号 | E03D5/00 |
| 分类 | 给水;排水; |
| 申请人名称 | 宁波舜洁卫生器具有限公司 |
| 申请人地址 | 浙江省宁波市余姚市黄家埠镇工业园区A区 |
专利法律状态
2021-06-22
授权
状态信息
授权
摘要
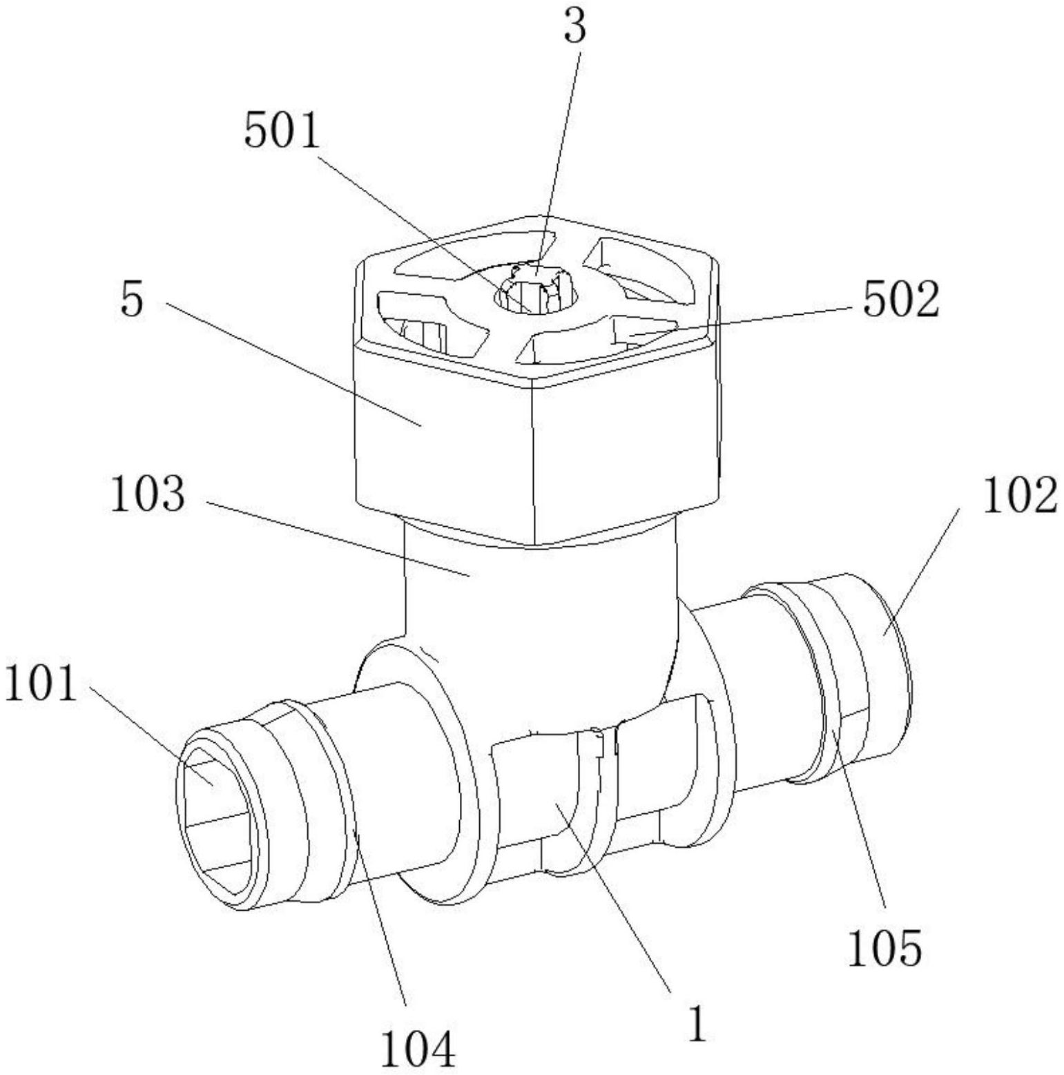
本实用新型涉及智能马桶技术领域,且公开了一种智能马桶气动式冲水的泄压装置,包括主壳体,所述主壳体上固定安装有进水管和出水管,所述主壳体的内部开设有泄压口,所述泄压口的内部固定安装有密封凸筋,所述泄压口的内部活动安装有弹簧导柱,所述弹簧导柱的上部固定安装有挡片一和档片二。该智能马桶气动式冲水的泄压装置,在水件的裙边冲洗的出水管上增设一个泄压阀,气动式冲洗水压的进水压过大时,会推开弹簧导柱上的密封垫片,进行泄压,使马桶内壁的裙边冲洗水量减小并稳定,避免了污水溅入水箱及电子器件等问题,同时多余清水回流到水箱内,在确保产品清洁安全的基础上,节水性也得到提升。


