授权公布号:CN204439807U
一种开关电源的快速检测装置
失效
申请
2015-03-06
申请公布
1970-01-01
授权
2015-07-01
预估到期
2025-03-06
| 申请号 | CN201520128787.X |
| 申请日 | 2015-03-06 |
| 授权公布号 | CN204439807U |
| 授权公告日 | 2015-07-01 |
| 分类号 | G01R31/40 |
| 分类 | 测量;测试; |
| 申请人名称 | 宁波舜洁卫生器具有限公司 |
| 申请人地址 | 浙江省宁波市余姚市黄家埠镇横二路12号工业园区A区 |
专利法律状态
2024-03-19
专利权的终止
状态信息
未缴年费专利权终止;IPC(主分类):G01R31/40;申请日:20150306;授权公告日:20150701
2015-07-01
授权
状态信息
授权
摘要
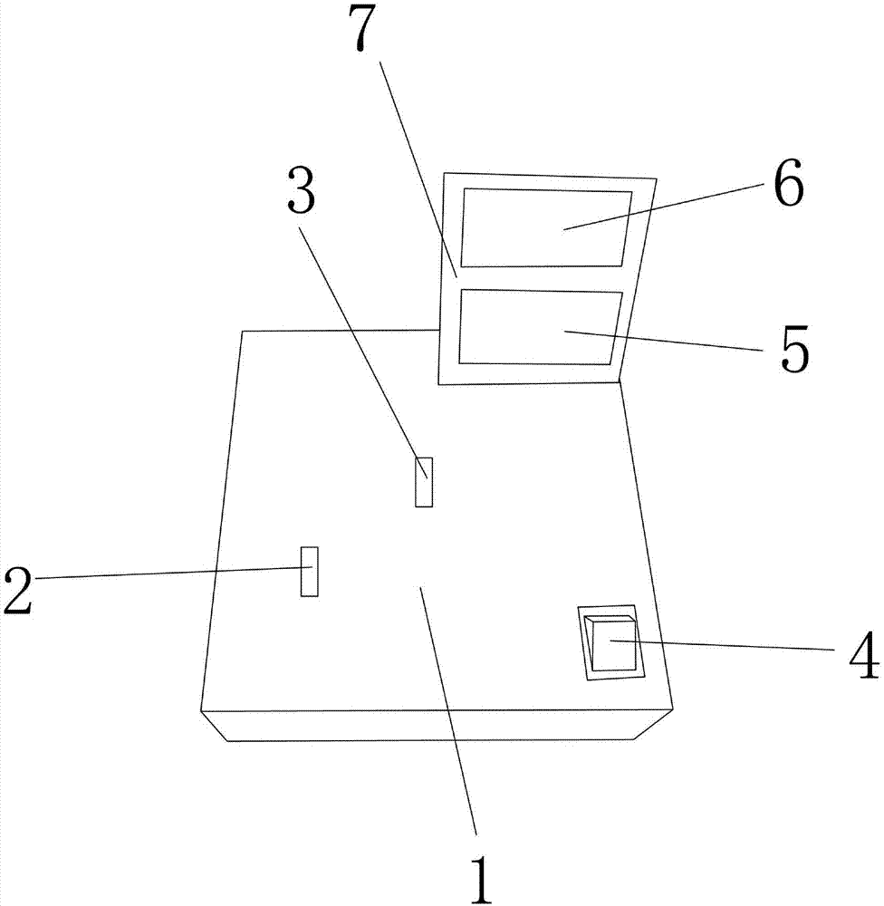
本实用新型公开了一种开关电源的快速检测装置,包括箱体、开关、输入接口、输出接口和显示板;所述开关、输入接口、输出接口和显示板安装在所述箱体的顶面,所述显示板上安装有第一LED显示屏和第二LED显示屏;所述输出接口输出220V电,所述开关用于控制所述输出接口的通电与否;所述箱体内设有控制单元,所述控制单元用于把输入接口获得的模拟量转换为数字量并通过第一LED显示屏和第二LED显示屏显示。本实用新型的开关电源的快速检测装置结构简单,设计合理,使用的时候操作方便、人性化;整个检测过程效率高,安全性好。


