授权公布号:CN205859250U
一种便于装配的多档位沐浴龙头
有效
申请
2016-08-11
申请公布
1970-01-01
授权
2017-01-04
预估到期
2026-08-11
| 申请号 | CN201620866662.1 |
| 申请日 | 2016-08-11 |
| 授权公布号 | CN205859250U |
| 授权公告日 | 2017-01-04 |
| 分类号 | F16K11/22;A47K3/28 |
| 分类 | 工程元件或部件;为产生和保持机器或设备的有效运行的一般措施;一般绝热; |
| 申请人名称 | 泉州市汇通感应洁具有限公司 |
| 申请人地址 | 福建省泉州市南安市光电产业信息产业基地光伏产业园(霞美镇) |
专利法律状态
2017-01-04
授权
状态信息
授权
摘要
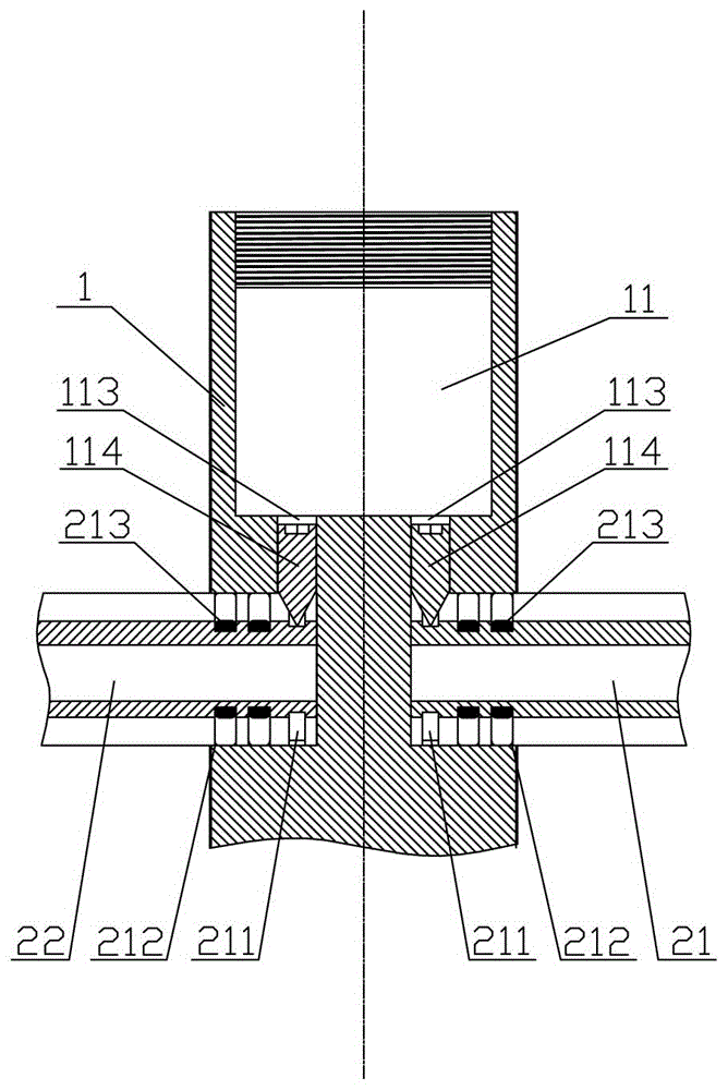
一种便于装配的多档位沐浴龙头,包括龙头主体、混水阀芯、分水阀芯,龙头主体的上部铣有第一阀芯座凹槽,龙头主体的侧壁铣有两个入水管安装槽,龙头主体的中下部侧壁铣有第二阀芯座凹槽,第二阀芯座凹槽底部至少设有两个分水孔,龙头主体中下部侧壁铣有第一安装槽,龙头主体底部铣有出水腔室,出水腔室至少连接一个第二出水管,两个入水管安装槽对应插设一个热进水连接管和一个冷进水连接管,第一阀芯座凹槽底部上还开设有两个与入水管安装槽对应相通的螺纹孔,每个螺纹孔内对应装配有一紧定螺丝,紧定螺丝的末端对应顶持在热进水连接管和冷进水连接管的外壁上。该多档位沐浴龙头,可实现热进水连接管和冷进水连接管的快速装配。


