授权公布号:CN206206625U
一种结构改进的过滤角阀
有效
申请
2016-11-30
申请公布
1970-01-01
授权
2017-05-31
预估到期
2026-11-30
| 申请号 | CN201621299180.9 |
| 申请日 | 2016-11-30 |
| 授权公布号 | CN206206625U |
| 授权公告日 | 2017-05-31 |
| 分类号 | F16K1/00;F16K1/32;F16K27/02;B01D35/04 |
| 分类 | 工程元件或部件;为产生和保持机器或设备的有效运行的一般措施;一般绝热; |
| 申请人名称 | 泉州市汇通感应洁具有限公司 |
| 申请人地址 | 福建省泉州市南安市光电产业信息产业基地光伏产业园(霞美镇) |
专利法律状态
2017-05-31
授权
状态信息
授权
摘要
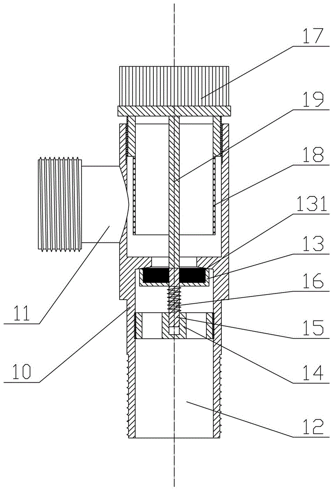
一种结构改进的过滤角阀,包括一阀体,阀体侧面设有出水口,底部设有进水口,所述阀体内设有上移时可堵住入进水口和出水口之间连通通道的阀片,进水口侧壁上螺接一中部开设有导向槽的固定座,阀片中部贯穿有一阀杆,阀杆下部穿设在导向槽内,阀杆上套设有一顶设在阀片及固定座之间的弹簧,阀体上部还设有与阀体相密封、可轴向移动的开关帽,开关帽的下部一体成型一个罩在出水口前端的筒形过滤网,开关帽底面中心固定设有一顶杆,该顶杆的下端头顶设在阀杆的上端头。本实用新型的顶杆随开关帽的移动可准确地推动阀杆向下移动,阀杆不会因开关帽的拧动而出现折断的现象;顶杆与阀杆可分别更换,降低维修成本。


