授权公布号:CN219196399U
一种固定系统和幕墙系统
有效
申请
2022-12-12
申请公布
1970-01-01
授权
2023-06-16
预估到期
2032-12-12
| 申请号 | CN202223330315.1 |
| 申请日 | 2022-12-12 |
| 授权公布号 | CN219196399U |
| 授权公告日 | 2023-06-16 |
| 分类号 | E04B2/88;E04B1/41 |
| 分类 | 建筑物; |
| 申请人名称 | 广东坚朗五金制品股份有限公司 |
| 申请人地址 | 广东省东莞市塘厦镇坚朗路3号 |
专利法律状态
2023-06-16
授权
状态信息
授权
摘要
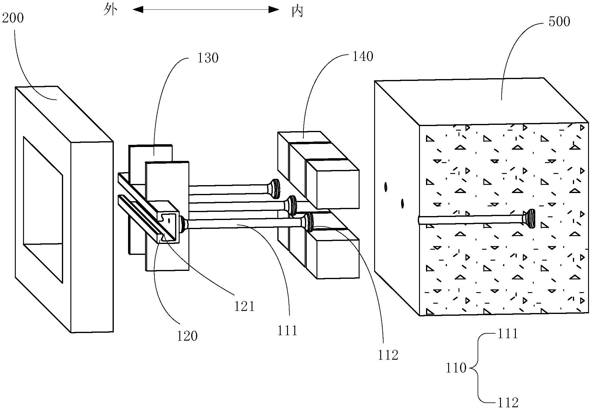
本实用新型涉及一种固定系统,用于连接幕墙和混凝土结构,固定系统包括:连接组件和保温件,连接组件包括彼此连接的悬挂部与连接部,悬挂部位于连接组件中沿第一方向的一端,连接部位于连接组件中沿第一方向的另一端,连接部用于与混凝土结构固定连接,悬挂部用于与幕墙固定连接;保温件设有沿第一方向贯通的通道,连接组件伸入通道中且封堵通道,悬挂部经通道外露,保温件用于抑制混凝土结构在成型过程中混凝土在第一方向上的流动范围。固定系统可以将保温件作为模板安装在连接组件上,这样连接组件不仅可以悬挂幕墙,也可以搭载保温件,从而节约了能源,保温件当作模板,所以在混凝土成型后无需拆除,避免花费大量时间和物料,降低了经济成本。


