授权公布号:CN219299052U
一种折叠平推铰链与平推窗
有效
申请
2022-11-14
申请公布
1970-01-01
授权
2023-07-04
预估到期
2032-11-14
| 申请号 | CN202223034949.2 |
| 申请日 | 2022-11-14 |
| 授权公布号 | CN219299052U |
| 授权公告日 | 2023-07-04 |
| 分类号 | E05D7/00;E05D5/02;E06B3/46 |
| 分类 | 锁;钥匙;门窗零件;保险箱; |
| 申请人名称 | 广东坚朗五金制品股份有限公司 |
| 申请人地址 | 广东省东莞市塘厦镇坚朗路3号 |
专利法律状态
2023-07-04
授权
状态信息
授权
摘要
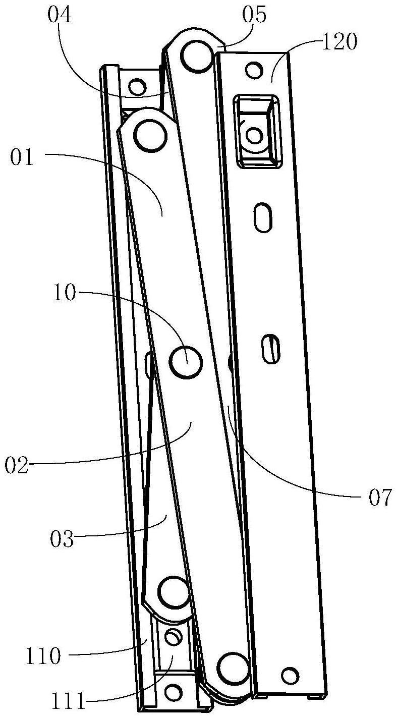
本实用新型涉及一种折叠平推铰链与平推窗,用于扇型材相对于框型材的平推启闭,包括:第一基座、第二基座、第一交叉杆组件和第二交叉杆组件,第一基座用于与框型材固定连接;第二基座用于与扇型材固定连接;两个交叉杆组件将第一基座和第二基座连接,第一基座可沿平推窗启闭的方向往复移动,以实现折叠平推铰链的展开和折叠状态。第一交叉组件包括主杆和副杆,主杆和副杆的交叉点将主杆和副杆分为不相等的两段,且第一基座沿厚度方向位于第二基座的另一侧,使在折叠状态下交叉干组件沿启闭方向与第一基座有重叠,折叠平推铰链沿启闭的方向的宽度减小,进而适用于沿启闭方向上宽度较窄的平推窗型材,增大对平推窗型材的适用范围。


