授权公布号:CN219196417U
装饰板的驳接组件、装饰性幕墙
有效
申请
2022-12-09
申请公布
1970-01-01
授权
2023-06-16
预估到期
2032-12-09
| 申请号 | CN202223319193.6 |
| 申请日 | 2022-12-09 |
| 授权公布号 | CN219196417U |
| 授权公告日 | 2023-06-16 |
| 分类号 | E04B2/96;E04F13/23 |
| 分类 | 建筑物; |
| 申请人名称 | 广东坚朗五金制品股份有限公司 |
| 申请人地址 | 广东省东莞市塘厦镇坚朗路3号 |
专利法律状态
2023-06-16
授权
状态信息
授权
摘要
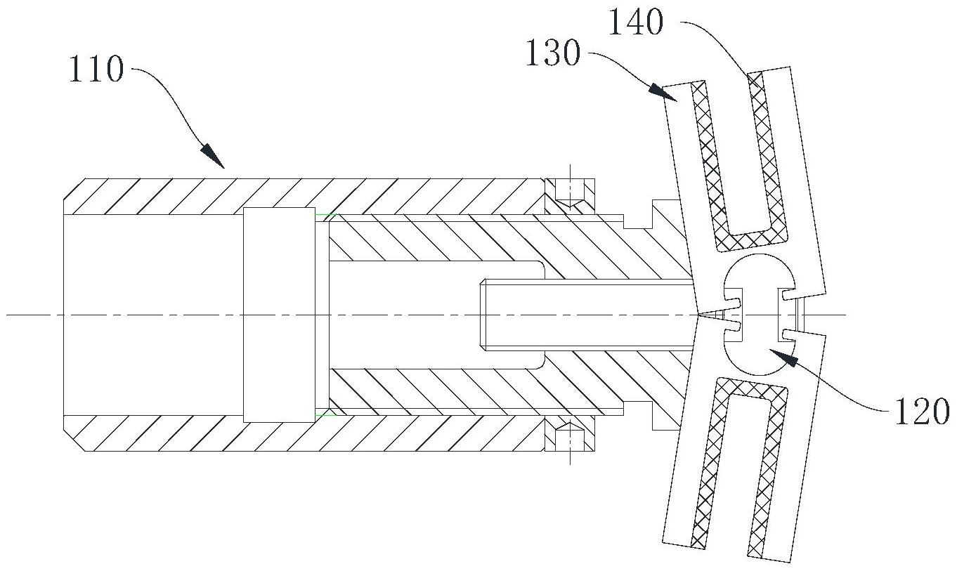
本实用新型涉及一种装饰板的驳接组件、装饰性幕墙,包括:底座、连接杆、多个夹持头、装饰板以及支承结构。上述的装饰板的驳接组件、装饰性幕墙在实际安装时,由于连接槽沿第一方向的宽度小于配合面沿第一方向的最大宽度,因此,配合面与弧形凹槽的槽壁适配的同时,第一凹槽的底壁可以在连接槽的沿第一方向的侧壁之间随配合面转动,从而实现沿第二方向排布的两夹持头之间产生一定角度的偏转,使得该两夹持头夹持的两块装饰板之间产生一定角度的偏转,进而实现了曲面装饰性幕墙的设计方案,减少了装饰板的驳接组件大量开模导致的制造成本提高。


