授权公布号:CN220565914U
滑轮组件及推拉门窗
有效
申请
2023-05-25
申请公布
1970-01-01
授权
2024-03-08
预估到期
2033-05-25
| 申请号 | CN202321293538.7 |
| 申请日 | 2023-05-25 |
| 授权公布号 | CN220565914U |
| 授权公告日 | 2024-03-08 |
| 分类号 | E05D13/00 |
| 分类 | 锁;钥匙;门窗零件;保险箱; |
| 申请人名称 | 广东坚朗五金制品股份有限公司 |
| 申请人地址 | 广东省东莞市塘厦镇坚朗路3号 |
专利法律状态
2024-03-08
授权
状态信息
授权
摘要
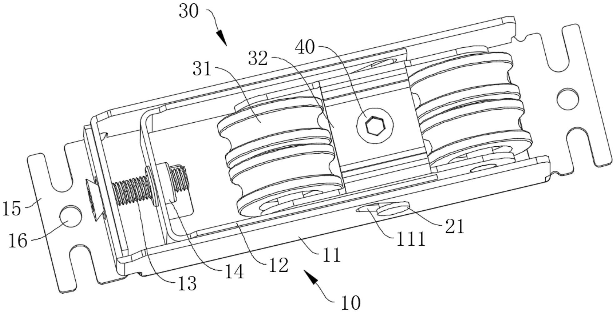
本实用新型涉及门窗配件技术领域,特别是涉及一种滑轮组件及推拉门窗,包括安装部、中心轴、滑轮单元以及锁定部件;中心轴设于安装部;滑轮单元包括至少一个滑轮,滑轮单元活动套设于中心轴;锁定部件安装于滑轮单元,锁定部件用于选择性将滑轮单元与中心轴固定连接或松开连接。当遇到导轨的位置与滑轮的预设位置存在偏移的情况时,滑轮可以通过沿中心轴滑动偏移与导轨配合,提高两者的适配性,从而使得滑轮可以顺利安装在导轨上,同时避免发生因强行安装造成滑轮的损坏,从而影响滑轮使用寿命的情况,因此十分值得推广应用。


