授权公布号:CN218802050U
一种气动钉枪的气缸
有效
申请
2022-12-30
申请公布
1970-01-01
授权
2023-04-07
预估到期
2032-12-30
| 申请号 | CN202223611495.0 |
| 申请日 | 2022-12-30 |
| 授权公布号 | CN218802050U |
| 授权公告日 | 2023-04-07 |
| 分类号 | B25C1/04 |
| 分类 | 手动工具;轻便机动工具;手动器械的手柄;车间设备;机械手; |
| 申请人名称 | 浙江东亚工具有限公司 |
| 申请人地址 | 浙江省温州市乐清经济开发区中心大道(另设分支机构经营场所:乐清市芙蓉镇兰屿浦村) |
专利法律状态
2023-04-07
授权
状态信息
授权
摘要
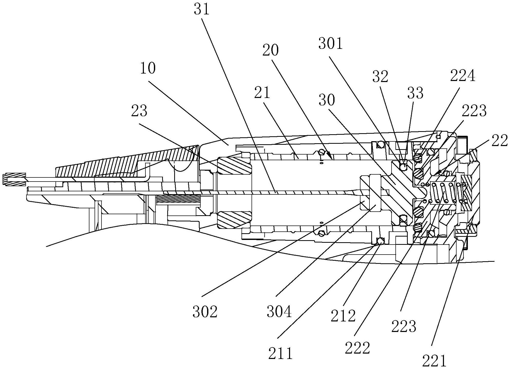
本实用新型涉及一种气动钉枪的气缸,包括设置在钉枪壳体内的缸体、设置在缸体内的活塞、联动设置在活塞上的撞针,所述的缸体包括缸筒、设置在钉枪壳体上且抵触在缸筒一端上的端盖组件,所述的活塞的周壁上设置有容置槽,所述的容置槽内设置有密封圈,且容置槽内设置有包裹在密封圈上的自润滑活塞环,所述的自润滑活塞环贴合在缸筒的内壁上,且自润活塞环随活塞动作且可在缸筒内往复动作,所述的钉枪壳体内对应缸筒另一端处设置有与活塞相配合的减震垫圈,所述的撞针一端连接在活塞上,撞针另一端穿过减震垫圈且延伸在缸筒外。本实用新型具有结构简单、使用寿命长、性能稳定可靠、维护成本低的优点。


