授权公布号:CN212359635U
钻头的刀头
有效
申请
2020-09-02
申请公布
1970-01-01
授权
2021-01-15
预估到期
2030-09-02
| 申请号 | CN202021885155.5 |
| 申请日 | 2020-09-02 |
| 授权公布号 | CN212359635U |
| 授权公告日 | 2021-01-15 |
| 分类号 | E21B10/43;E21B10/26 |
| 分类 | 土层或岩石的钻进;采矿; |
| 申请人名称 | 浙江东亚工具有限公司 |
| 申请人地址 | 浙江省温州市乐清经济开发区中心大道 |
专利法律状态
2021-01-15
授权
状态信息
授权
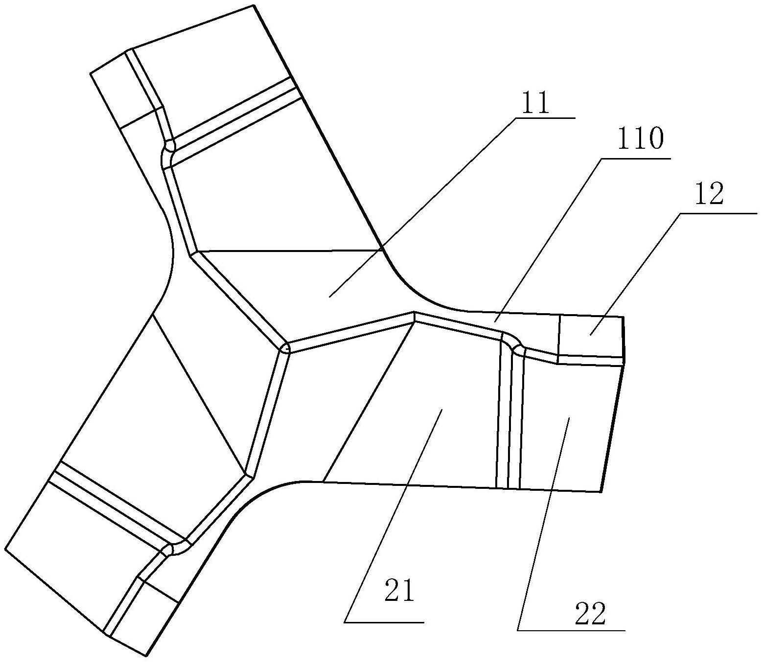
摘要
本实用新型涉及一种钻头的刀头,包括三角锥,以及由三角锥的锥面延伸出来的刀翼,相邻的刀翼之间夹角呈120°,刀头具有用于与刀杆连接的端面,端面与刀翼的棱线正交,相邻的锥面分别接出外扩刃背面和外扩刃正面,三个外扩刃背面与三个外扩刃正面各自呈涡旋形,外扩刃正面与三角锥的锥面相接且位于同一平面上。通过在刀头的中心设置三角锥,在刀翼上设置呈涡旋分布的外扩刃正面和外扩刃背面,在钻孔初期,先由坚固的三角锥的锥点找准目标,螺旋进给几圈后,由外扩刃对三角锥钻出的孔进行进一步地扩大,将钻头刀刃分布在三角锥和刀翼上,提高了钻孔效率。另外,由三角锥垂直墙面钻孔,由刀翼上的外扩刃对钻孔的内壁进行削扩,刀头不易磨损。


