授权公布号:CN210879510U
一种钉枪的气缸总成
有效
申请
2019-11-26
申请公布
1970-01-01
授权
2020-06-30
预估到期
2029-11-26
| 申请号 | CN201922062626.6 |
| 申请日 | 2019-11-26 |
| 授权公布号 | CN210879510U |
| 授权公告日 | 2020-06-30 |
| 分类号 | B25C1/04 |
| 分类 | 手动工具;轻便机动工具;手动器械的手柄;车间设备;机械手; |
| 申请人名称 | 浙江东亚工具有限公司 |
| 申请人地址 | 浙江省温州市乐清经济开发区中心大道 |
专利法律状态
2020-06-30
授权
状态信息
授权
摘要
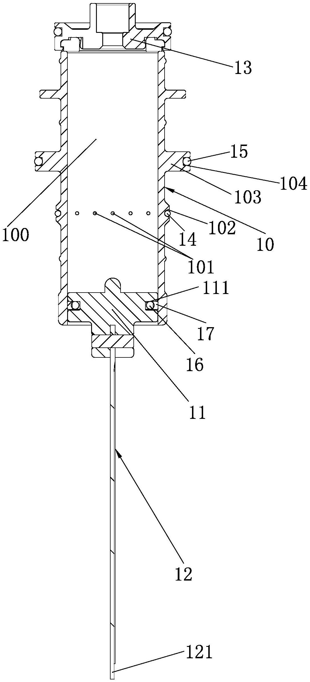
本实用新型涉及一种钉枪的气缸总成,包括缸体、设置在缸体内的活塞、与活塞联动配合的撞针,所述的缸体的一端设置有缸盖,该缸盖与缸体之间形成有气缸内腔,所述的活塞滑动设置在气缸内腔内,所述的缸体设置有多个用于连通气缸内腔与外界的气孔,所述的缸体的外周壁上对应各气孔处设置有凹槽,所述的凹槽内设置有抵触在各气孔上的密封橡胶圈,且缸体的外周壁上设置有环形凸台,该环形凸台上设置有槽体,该槽体内设置有与钉枪外壳密封配合的橡胶圈。本实用新型具有结构简单、使用寿命长、性能稳定、成本低的优点。


