授权公布号:CN216030610U
一种防短钉卡钉的气动钉枪枪头
有效
申请
2021-10-09
申请公布
1970-01-01
授权
2022-03-15
预估到期
2031-10-09
| 申请号 | CN202122437865.2 |
| 申请日 | 2021-10-09 |
| 授权公布号 | CN216030610U |
| 授权公告日 | 2022-03-15 |
| 分类号 | B25C1/04;B25C7/00 |
| 分类 | 手动工具;轻便机动工具;手动器械的手柄;车间设备;机械手; |
| 申请人名称 | 浙江东亚工具有限公司 |
| 申请人地址 | 浙江省温州市乐清经济开发区中心大道 |
专利法律状态
2022-03-15
授权
状态信息
授权
摘要
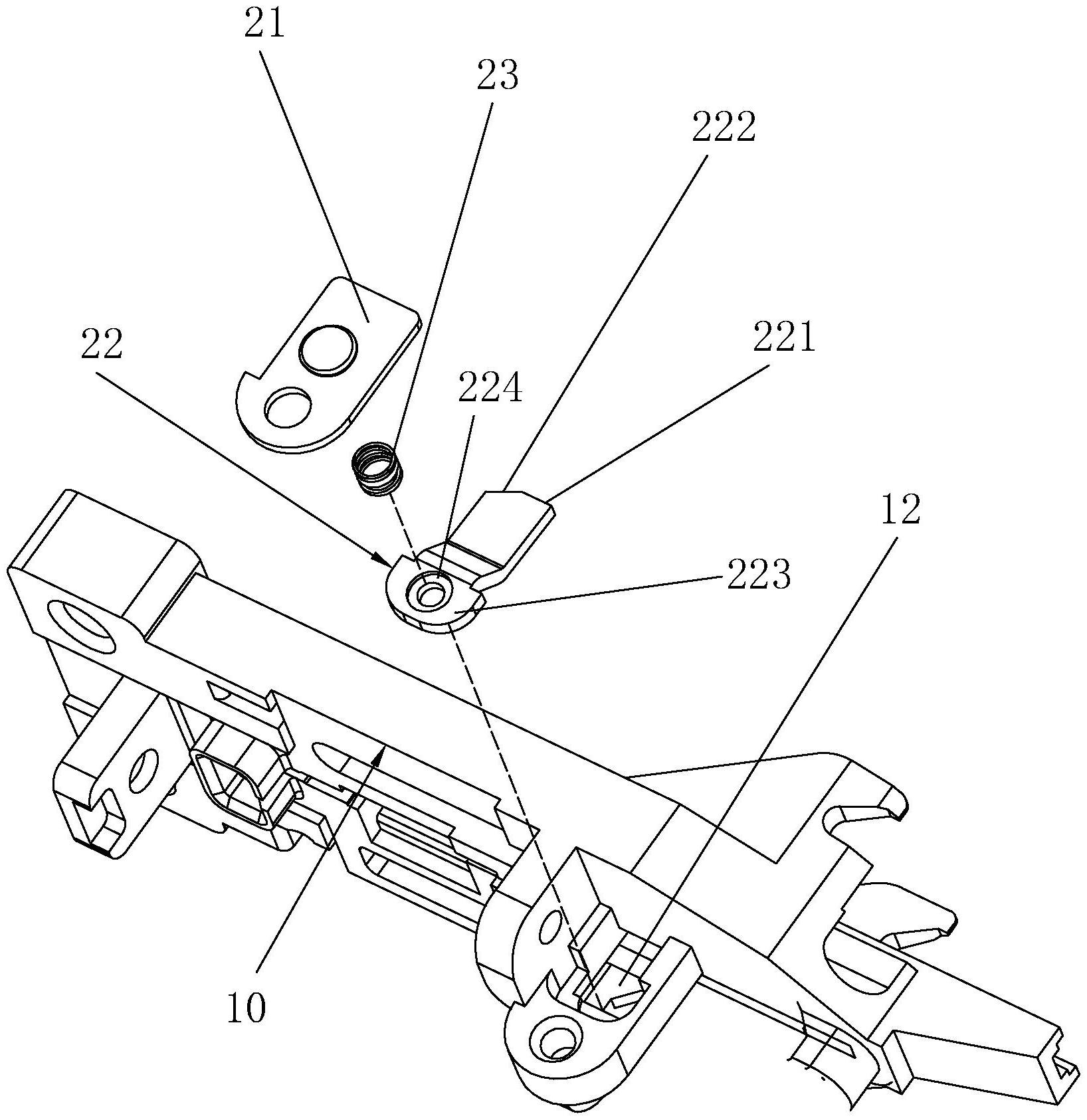
本实用新型涉及一种防短钉卡钉的气动钉枪枪头,包括钉头,所述的钉头内设置有托钉机构,所述的托钉机构包括盖板、托钉片,所述的钉头上设置有出钉通道,且钉头上设置有与出钉通道相连通的容置槽,所述的盖板设置在钉头上且罩盖容置槽上,所述的托钉片活动设置在容置槽内,所述的盖板与托钉片之间设置有弹簧,所述的托钉片的一端具有延伸在出钉通道内的托钉部。本实用新型具有结构简单、故障率低、性能稳定可靠、装配便捷的优点。


