授权公布号:CN214187031U
一种用于安装水管卡套的瓦斯钉枪
有效
申请
2021-01-20
申请公布
1970-01-01
授权
2021-09-14
预估到期
2031-01-20
| 申请号 | CN202120157329.4 |
| 申请日 | 2021-01-20 |
| 授权公布号 | CN214187031U |
| 授权公告日 | 2021-09-14 |
| 分类号 | B25C1/08 |
| 分类 | 手动工具;轻便机动工具;手动器械的手柄;车间设备;机械手; |
| 申请人名称 | 浙江东亚工具有限公司 |
| 申请人地址 | 浙江省温州市乐清经济开发区中心大道 |
专利法律状态
2021-09-14
授权
状态信息
授权
摘要
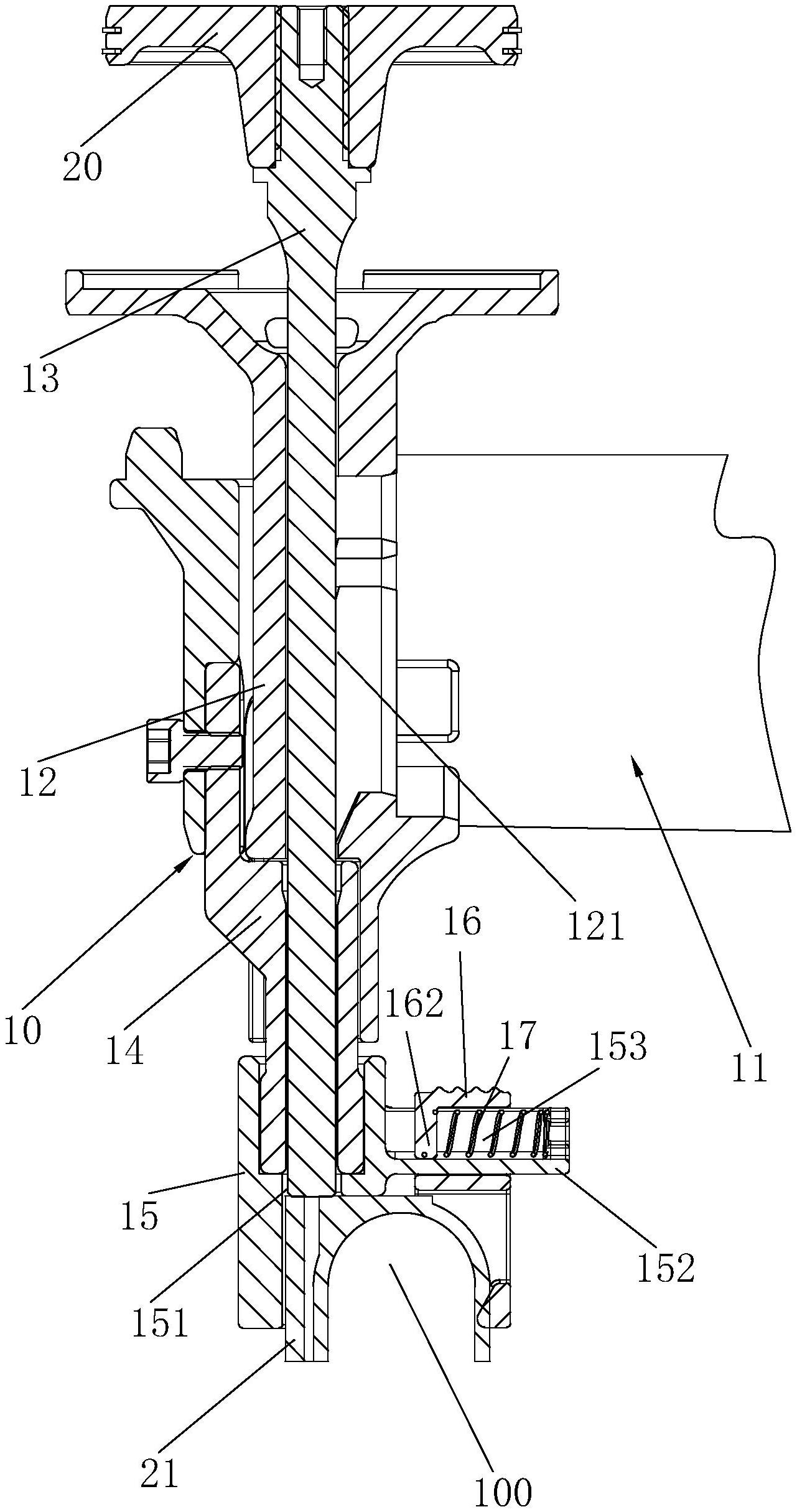
本实用新型涉及一种用于安装水管卡套的瓦斯钉枪,包括枪身总成、弹夹总成,所述的枪身总成包括枪身外壳、设置在枪身外壳上的扳机、设置在枪身外壳内的风扇组件和活塞组件,所述的弹夹总成包括弹夹、设置在弹夹上的枪头、活动设置在枪头内且与活塞组件联动配合的撞针、设置在枪头一端上的枪管,所述的枪头上设置有与弹夹相连通的送钉孔,所述的枪管的一端上活动设置有固定套,所述的固定套的一侧上活动设置有夹持块,所述的夹持块与固定套之间设置有弹簧,且固定套与夹持块之间形成有用于夹持水管卡套的夹持腔,所述的固定套上设置有与枪管相连通的出钉孔。本实用新型具有结构简单、使用便捷、装配便捷、安装效率高的优点。


