授权公布号:CN216000390U
一种气动钉枪的活塞总成
有效
申请
2021-10-09
申请公布
1970-01-01
授权
2022-03-11
预估到期
2031-10-09
| 申请号 | CN202122438009.9 |
| 申请日 | 2021-10-09 |
| 授权公布号 | CN216000390U |
| 授权公告日 | 2022-03-11 |
| 分类号 | B25C1/04;B25C7/00 |
| 分类 | 手动工具;轻便机动工具;手动器械的手柄;车间设备;机械手; |
| 申请人名称 | 浙江东亚工具有限公司 |
| 申请人地址 | 浙江省温州市乐清经济开发区中心大道 |
专利法律状态
2022-03-11
授权
状态信息
授权
摘要
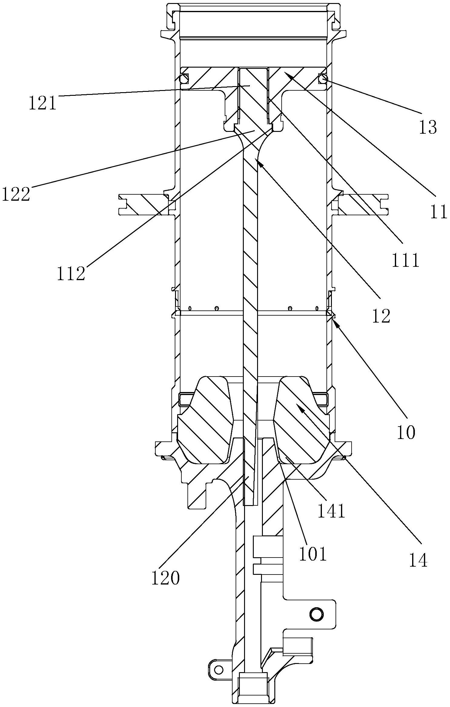
本实用新型涉及一种气动钉枪的活塞总成,包括缸体、设置在缸体内的活塞、设置在活塞上的撞针,所述的撞针的一端设置有延伸在缸体外的撞击部,所述的撞针的另一端上具有卡接部,所述的活塞上设置有与卡接部相配合的卡接孔,所述的卡接部卡合在卡接孔内,且构成活塞与撞针的卡接配合,所述的撞针上对应卡接部的一侧处设置与限位部,该限位部的外周壁上设置有滚花,所述的活塞上设置有与限位部相配合的限位槽,所述的限位槽与卡接孔相连通,且限位部卡合在限位槽内,且构成撞针与活塞的限位配合。本实用新型具有结构简单、结构紧凑、装配便捷、使用寿命长的优点。


