授权公布号:CN204108838U
一种双圆弧成型砂轮修整机构
有效
申请
2014-04-01
申请公布
1970-01-01
授权
2015-01-21
预估到期
2024-04-01
| 申请号 | CN201420175760.1 |
| 申请日 | 2014-04-01 |
| 授权公布号 | CN204108838U |
| 授权公告日 | 2015-01-21 |
| 分类号 | B24B53/075;B24B53/12 |
| 分类 | 磨削;抛光; |
| 申请人名称 | 宁波利浦刃具有限公司 |
| 申请人地址 | 浙江省宁海县新兴工业园区金山五路10号宁波利浦刃具有限公司 |
专利法律状态
2015-01-21
授权
状态信息
授权
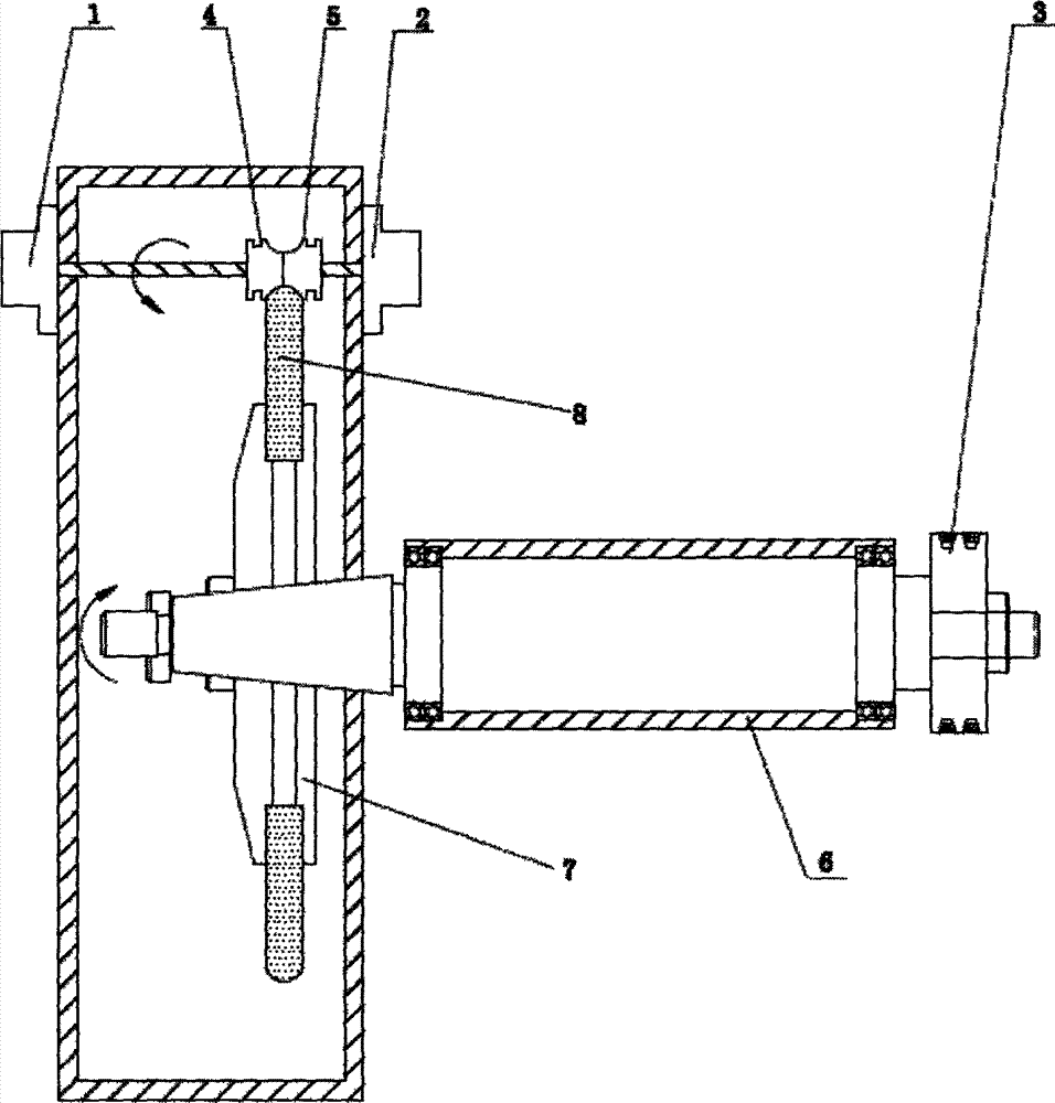
摘要
本实用新型公开了一种双圆弧成型砂轮修整机构,包括磨削组件和进给组件,所述磨削组件包括电机及与电机相连的磨削件,所述进给组件包括动力传动机构及连接于动力传动机构上的砂轮,所述磨削件为两个金刚石滚轮,分别位于砂轮上方两侧。采用左右各一个成型金刚石滚轮,通过滚轮的转动代替修整臂的摆动来修整砂轮,由于金刚石滚轮对称的分布在砂轮两侧,使砂轮所受侧向力均匀不至于碎裂,同时又可以保证金刚石滚轮圆弧面甚至任意曲面的制造精度,从而保证了对砂轮修整的精度,提高了微钻的切削性能。


