授权公布号:CN217095642U
一种模具钢扁钢冶炼装置
有效
申请
2022-03-25
申请公布
1970-01-01
授权
2022-08-02
预估到期
2032-03-25
| 申请号 | CN202220663178.4 |
| 申请日 | 2022-03-25 |
| 授权公布号 | CN217095642U |
| 授权公告日 | 2022-08-02 |
| 分类号 | B22D35/04;B22C9/00 |
| 分类 | 铸造;粉末冶金; |
| 申请人名称 | 江苏天工工具新材料股份有限公司 |
| 申请人地址 | 江苏省镇江市丹阳市丹北镇后巷前巷村江苏天工工具新材料股份有限公司 |
专利法律状态
2022-08-02
授权
状态信息
授权
摘要
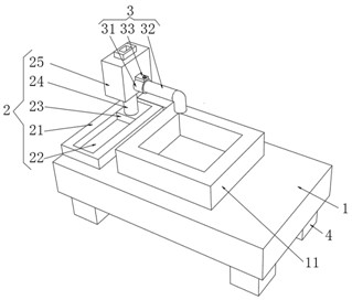
本实用新型公开了一种模具钢扁钢冶炼装置,具体涉及冶炼领域,包括板体,本实用新型通过设有固定板、滑槽、液压缸,有利于工作人员打开外接控制液压缸的电源开关,使得液压缸受到外接电源的驱使,使得液压缸在固定板顶端开设的滑槽内壁进行滑动连接,致使冶炼机在固定板的顶端来回移动,安装套柱、出料管、丝杠、螺纹孔,有利于工作人员使用丝杠与对应螺纹孔进行螺纹连接,从而使得丝杠的底端远离出料管的外环壁,促使出料管在套柱的内壁进行套设连接,便于工作人员调节出料管的长度,致使出料管的另一端与模体的进料口紧密连接,便于工作人员控制冶炼机将生产的钢水对更稳定快速地倒入处于不同位置进料口的模体内部。


