授权公布号:CN216858113U
一种模具钢锻材锻造成型装置
有效
申请
2021-11-09
申请公布
1970-01-01
授权
2022-07-01
预估到期
2031-11-09
| 申请号 | CN202122726057.8 |
| 申请日 | 2021-11-09 |
| 授权公布号 | CN216858113U |
| 授权公告日 | 2022-07-01 |
| 分类号 | B21J9/02;B21J13/00;B21J13/04 |
| 分类 | 基本上无切削的金属机械加工;金属冲压; |
| 申请人名称 | 江苏天工工具新材料股份有限公司 |
| 申请人地址 | 江苏省镇江市丹阳市丹北镇后巷前巷村1号天工爱和特钢有限公司 |
专利法律状态
2022-07-01
授权
状态信息
授权
摘要
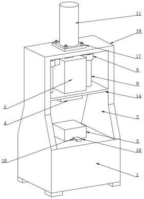
本实用新型公开了一种模具钢锻材锻造成型装置,具体涉及模具钢锻造领域,包括锻造装置底座,所述锻造装置底座上端的侧面设有支撑板,所述支撑板上端的侧面设有第一固定支撑板,所述第一固定支撑板的中部固定设有方形通孔,所述支撑板的顶部的侧面端部固定设有第二固定支撑板。本实用新型通过设置的锻压底座、固定滑座和凹形卡槽,能够方便对锻压底座进行更换和固定,通过设置的锻压块和方形通孔能够方便增加对锻压块锻造的稳定性,且通过设置的固定块、圆形滑孔、固定滑块和固定滑杆的对应连接状态下,在圆形滑孔和固定滑杆的相互适配下,能够方便锻压块进行锻造时的稳定性,在锻压块向下移动锻压时,增加冲压块的稳定性。


