授权公布号:CN216096612U
一种铝合金加工用三刃铣刀
有效
申请
2021-11-22
申请公布
1970-01-01
授权
2022-03-22
预估到期
2031-11-22
| 申请号 | CN202122891850.3 |
| 申请日 | 2021-11-22 |
| 授权公布号 | CN216096612U |
| 授权公告日 | 2022-03-22 |
| 分类号 | B23C5/10 |
| 分类 | 机床;不包含在其他类目中的金属加工; |
| 申请人名称 | 浙江德威硬质合金制造有限公司 |
| 申请人地址 | 浙江省温州市乐清经济开发区经十路128号 |
专利法律状态
2022-03-22
授权
状态信息
授权
摘要
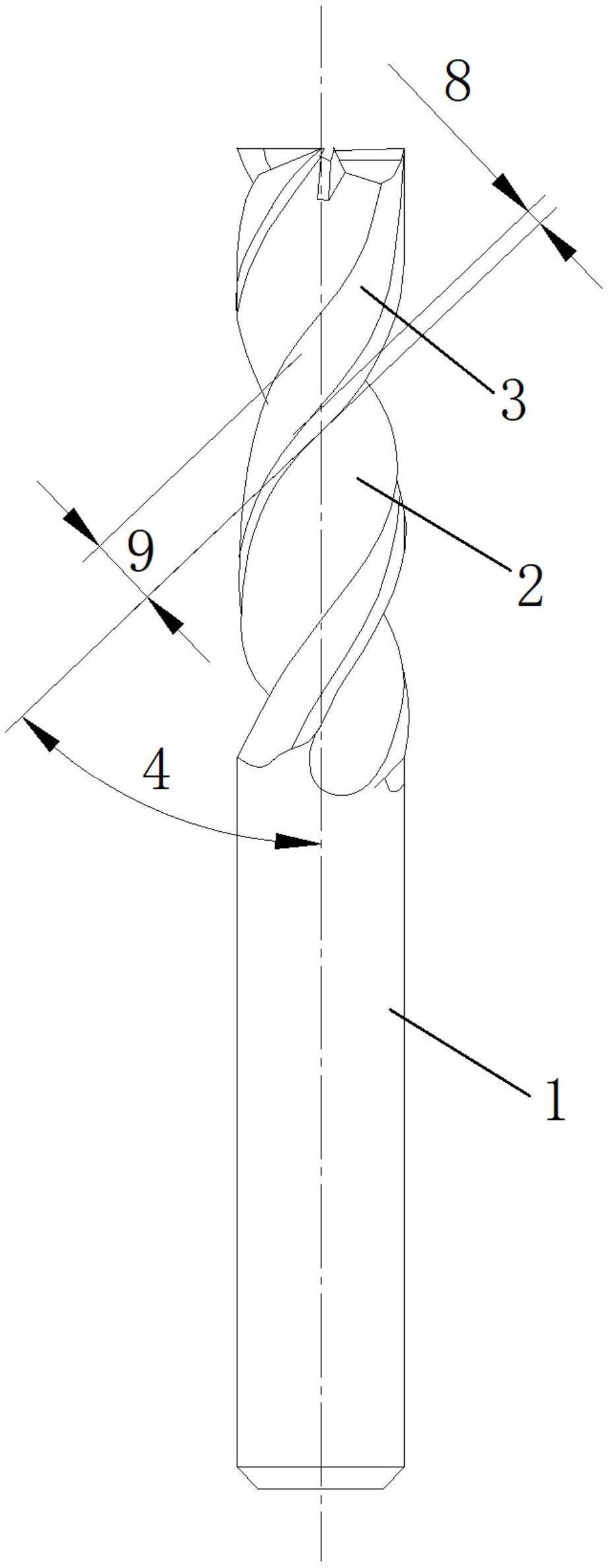
本实用新型涉及铣削设备技术领域,具体涉及一种铝合金加工用三刃铣刀,包括:刀柄,刀柄一端延伸成刀头,刀头的前端成型有三条同向旋转的螺旋状刀刃,三条螺旋状刀刃绕刀柄的轴线均匀布置,刀头的芯厚为刀头外径的42%,螺旋状刀刃的第一周齿后角为13°-17°,第二周齿后角为31°-35°。通过修正刀头的槽型设计,扩大第一周齿后角,同时将刀头的芯厚修正为刀头外径的42%,增加了刀具的锋利度,提升三刃铣刀对铝合金铣削效率的同时增大了三刃刀头的排屑效果,使排屑更加顺畅。通过提升铝合金的铣削效率和及时排屑,还能够减少在快速铣削时排屑不及时造成高温导致的刀具和待加工件的磨损,防止崩刃,增加刀具寿命,保证了待加工件的加工精度。


