授权公布号:CN211708105U
硬质合金预挤压装置
有效
申请
2020-03-12
申请公布
1970-01-01
授权
2020-10-20
预估到期
2030-03-12
| 申请号 | CN202020303980.3 |
| 申请日 | 2020-03-12 |
| 授权公布号 | CN211708105U |
| 授权公告日 | 2020-10-20 |
| 分类号 | B22F3/20 |
| 分类 | 铸造;粉末冶金; |
| 申请人名称 | 浙江德威硬质合金制造有限公司 |
| 申请人地址 | 浙江省温州市乐清市芙蓉镇工业区 |
专利法律状态
2020-10-20
授权
状态信息
授权
摘要
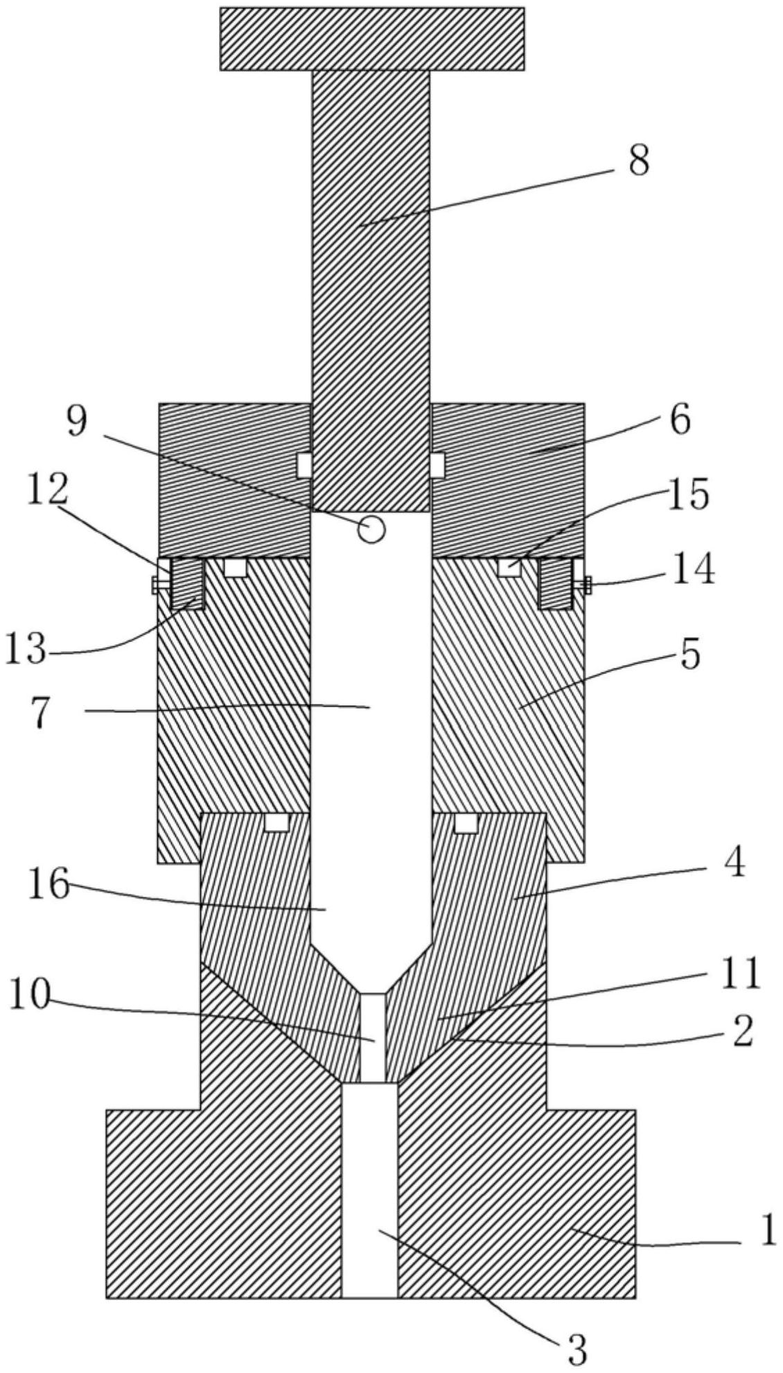
本实用新型公开了一种硬质合金预挤压装置,包括支撑基座,在支撑基座的顶面开设有喇叭形孔,在支撑基座内开设有挤出通道,在支撑基座的上方设置有挤压嘴,在挤压嘴的上方设置有中间件且在中间件的上方设置有密封盖,在中间件和密封盖的正中心开设有直径相同的挤压填料腔,在挤压填料腔的上部设置有自密封盖插入的挤压轴杆,在密封盖的侧部下端开设有与挤压填料腔相连通的抽真空孔,在挤压嘴的上部开设有直径与挤压填料腔的直径相同的挤压腔且在挤压嘴的下部开设有连通挤压腔与挤出通道的挤压通孔。本实用新型的结构设置合理,有利于提高检测效率与检测的精度,同时也可以大大降低操作人员的劳动强度,适用性强且实用性好。


