授权公布号:CN208546311U
一种燃料电池用的一体水冷供气系统
有效
申请
2018-06-04
申请公布
1970-01-01
授权
2019-02-26
预估到期
2028-06-04
| 申请号 | CN201820857159.9 |
| 申请日 | 2018-06-04 |
| 授权公布号 | CN208546311U |
| 授权公告日 | 2019-02-26 |
| 分类号 | F04C29/04;F04C23/02;F04C18/20;H01M8/04089 |
| 分类 | 液体变容式机械;液体泵或弹性流体泵; |
| 申请人名称 | 浙江恒友机电有限公司 |
| 申请人地址 | 浙江省金华市武义县开发大道19号 |
专利法律状态
2019-02-26
授权
状态信息
授权
摘要
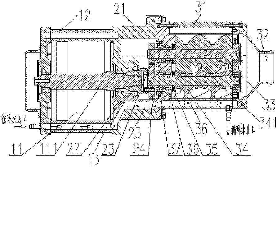
本实用新型涉及一种燃料电池用的一体水冷供气系统,包括压缩机,压缩机包括电机本体、齿轮箱和压缩机本体:电机本体包括电机壳体和电机,电机固定安装在电机壳体内;齿轮箱包括齿轮箱壳体,电机壳体与齿轮箱壳体的一端固定连接;齿轮箱壳体内转动设置至少一传动齿轮,电机的电机轴与传动齿轮传动连接;压缩机本体,压缩机本体包括压缩机本体壳体,压缩机本体壳体与齿轮箱壳体的另一端固定连接;压缩机本体壳体内转动设置至少一转子,传动齿轮与转子传动连接;电机壳体、齿轮箱壳体和压缩机本体壳体的壳壁内均设置一供水进出的循环水通道,三个循环水通道连通,解决了现有技术中压缩机内产生高温将其内部的工作元器件损坏的技术问题。


