授权公布号:CN213560086U
一种可拆卸麻花钻
有效
申请
2020-07-01
申请公布
1970-01-01
授权
2021-06-29
预估到期
2030-07-01
| 申请号 | CN202021272022.0 |
| 申请日 | 2020-07-01 |
| 授权公布号 | CN213560086U |
| 授权公告日 | 2021-06-29 |
| 分类号 | B23B51/02 |
| 分类 | 机床;不包含在其他类目中的金属加工; |
| 申请人名称 | 浙江贝利工具有限公司 |
| 申请人地址 | 浙江省温州市乐清市芙蓉镇山外湾村 |
专利法律状态
2021-06-29
授权
状态信息
授权
摘要
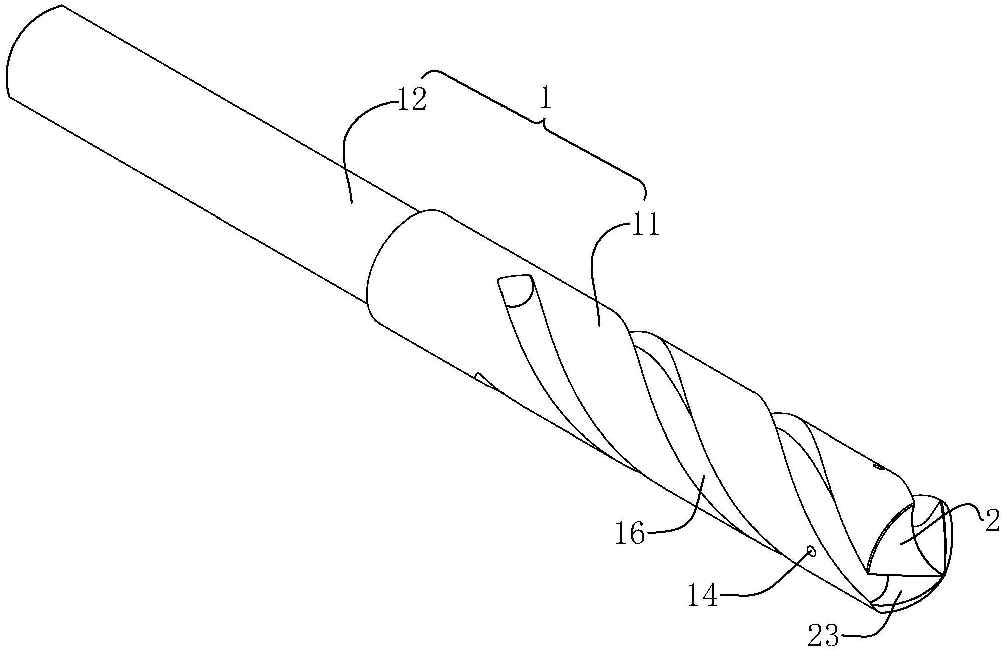
本申请涉及一种可拆卸麻花钻,其包括钻杆和钻头,所述钻头可拆卸连接在钻杆上,所述钻杆旋转带动钻头转动进行钻孔作业,所述钻头包括工作端和设置在工作端端面上的连接部件,所述连接部件分为连接杆和限位块,所述工作端上设有容屑槽,所述工作端端面与钻杆一侧端面接触连接,所述钻杆侧面设有若干锁紧孔,所述锁紧孔内设有紧固螺钉,所述紧固螺钉端部抵接固定连接杆,达到了固定钻头在钻杆上的相对位置的目的。本申请具有能够拆卸替换麻花钻钻头,使用方便和节省成本的效果。


