授权公布号:CN212526202U
一种新型开孔器
有效
申请
2020-06-24
申请公布
1970-01-01
授权
2021-02-12
预估到期
2030-06-24
| 申请号 | CN202021208398.5 |
| 申请日 | 2020-06-24 |
| 授权公布号 | CN212526202U |
| 授权公告日 | 2021-02-12 |
| 分类号 | B23B51/04;B23B51/00 |
| 分类 | 机床;不包含在其他类目中的金属加工; |
| 申请人名称 | 浙江贝利工具有限公司 |
| 申请人地址 | 浙江省温州市乐清市芙蓉镇山外湾村 |
专利法律状态
2021-02-12
授权
状态信息
授权
摘要
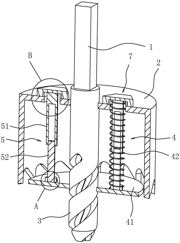
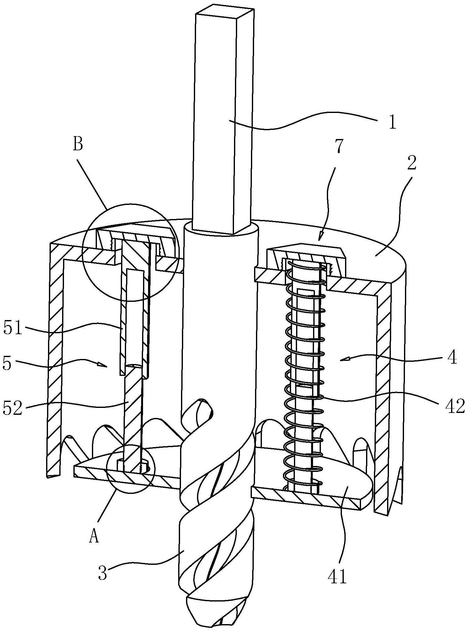
本申请涉及一种新型开孔器,包括支持柄、与支持柄连接并同轴布设的锯齿套筒和与支持柄连接并位于锯齿套筒内部的钻杆,所述锯齿套筒内设置有将料芯弹出的清理组件,所述清理组件包括沿锯齿套筒长度方向滑动加设在锯齿套筒内的清理板、加设在锯齿套筒和清理板之间的伸缩杆和套设在伸缩杆上的弹簧,所述钻杆滑动穿过清理板,并与清理板滑动连接,所述伸缩杆的两端分别连接在锯齿套筒和清理板上,并且伸缩杆与钻杆平行布设。本申请具有提高开孔器使用寿命的效果。


