授权公布号:CN212551899U
一种可调节长度的麻花钻
有效
申请
2020-06-24
申请公布
1970-01-01
授权
2021-02-19
预估到期
2030-06-24
| 申请号 | CN202021208196.0 |
| 申请日 | 2020-06-24 |
| 授权公布号 | CN212551899U |
| 授权公告日 | 2021-02-19 |
| 分类号 | B23B51/02 |
| 分类 | 机床;不包含在其他类目中的金属加工; |
| 申请人名称 | 浙江贝利工具有限公司 |
| 申请人地址 | 浙江省温州市乐清市芙蓉镇山外湾村 |
专利法律状态
2021-02-19
授权
状态信息
授权
摘要
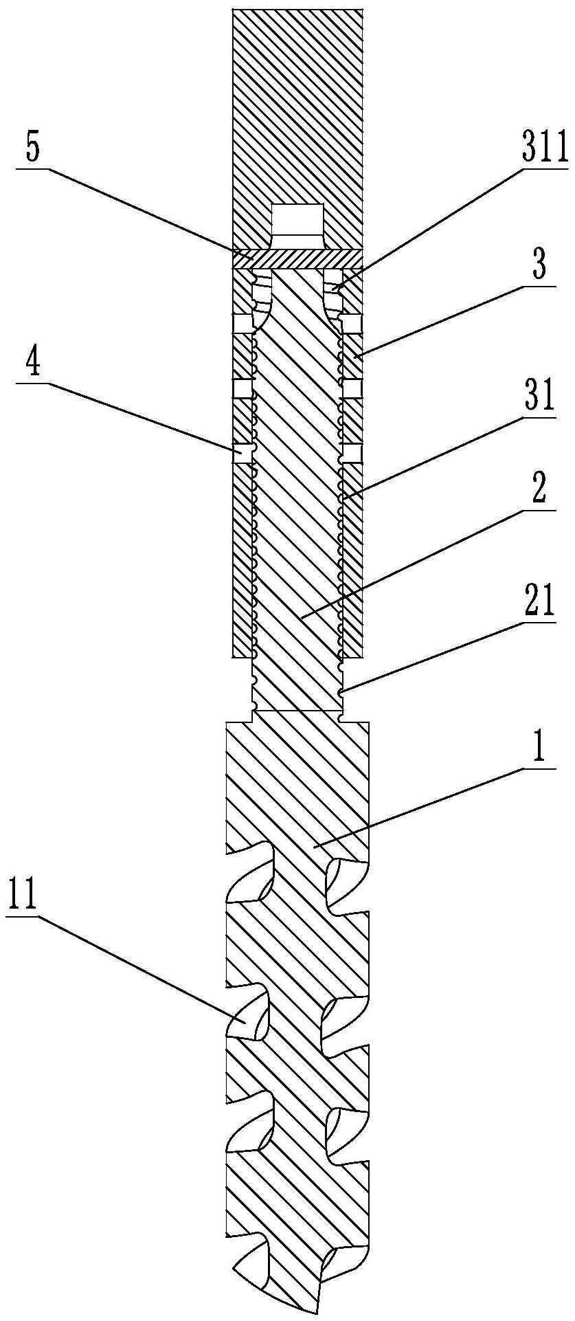
本申请涉及机加工刀具的技术领域,尤其是涉及一种可调节长度的麻花钻,其包括钻头、钻杆和延长杆,所述钻杆一端连接有钻头,所述钻头外壁设置有螺旋槽,所述钻杆与钻头一体成型,所述钻杆另一端可拆卸连接有延长杆。本申请在拆除延长杆时,麻花钻整体长度较小,适合钻厚度较薄的板材,在安装延长杆时,麻花钻整体长度增长,适合钻厚度较厚的板材,通过在钻杆端面上可拆卸连接延长杆,调节了麻花钻的整体的长度,使麻花钻适合钻不同厚度的板材。


