授权公布号:CN209083304U
一种新型屋脊状聚晶金刚石复合片锚杆钻头
有效
申请
2018-09-28
申请公布
1970-01-01
授权
2019-07-09
预估到期
2028-09-28
| 申请号 | CN201821591984.5 |
| 申请日 | 2018-09-28 |
| 授权公布号 | CN209083304U |
| 授权公告日 | 2019-07-09 |
| 分类号 | E21D20/00;E21B10/54;E21B10/43 |
| 分类 | 土层或岩石的钻进;采矿; |
| 申请人名称 | 西安泾渭钻探机具制造有限公司 |
| 申请人地址 | 陕西省西安市灞桥区浐河经济开发区酒十路70号 |
专利法律状态
2019-07-09
授权
状态信息
授权
摘要
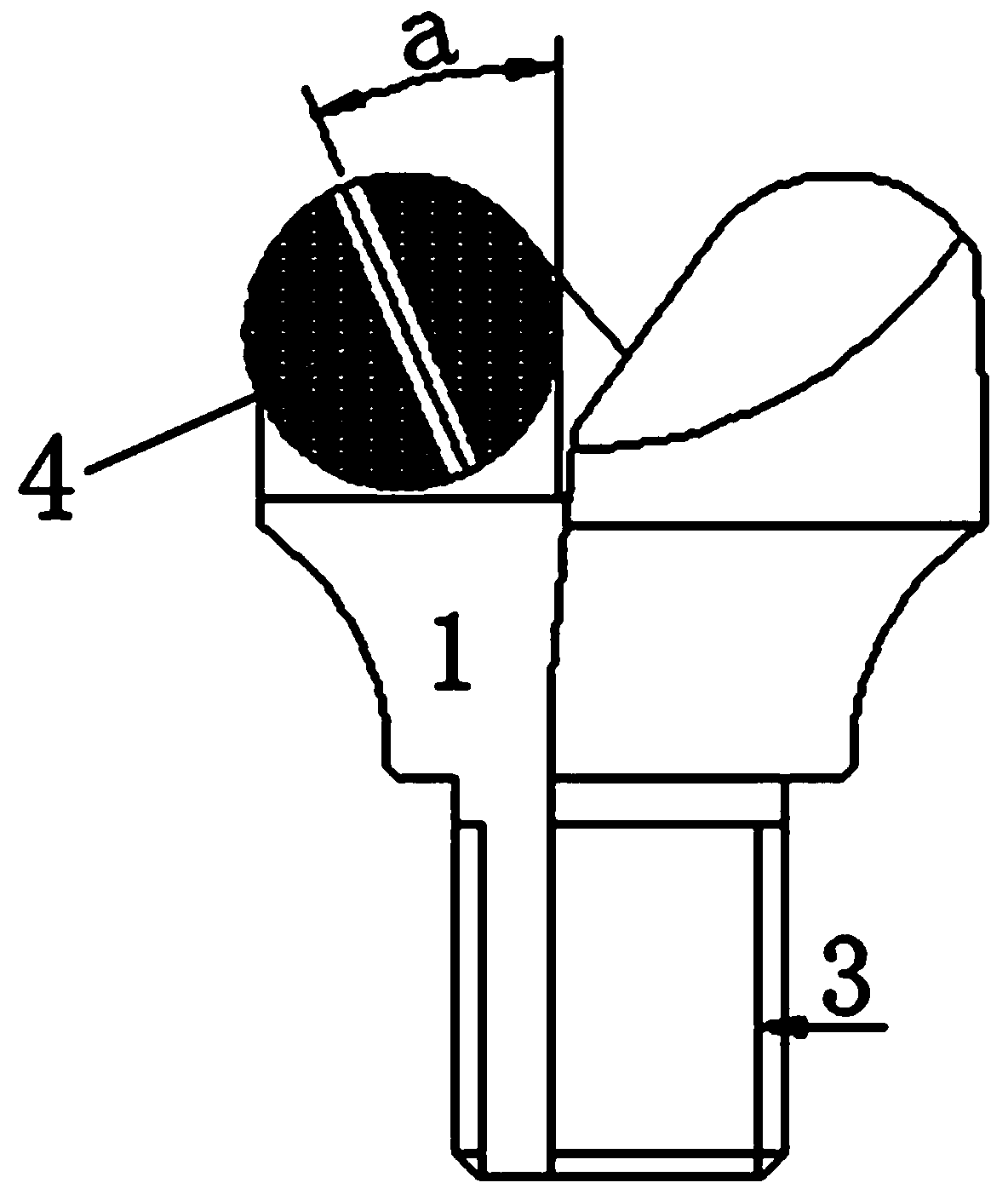
本实用新型的一种新型屋脊状聚晶金刚石复合片锚杆钻头,包括基座、凹槽、屋脊状聚晶金刚石复合片以及位于基座下端用于与钻杆螺纹连接的连接杆;所述屋脊状聚晶金刚石复合片焊接于基座上部的凹槽处构成切削齿,所述切削齿的脊梁所在直线与该锚杆钻头的轴线的夹角a度数为0度~35度。使用该锚杆钻头钻孔时可以有效提高钻进速度、节约成本,降低操作人员的劳动强度。


