授权公布号:CN214291010U
一种可换刀片式钢板钻
有效
申请
2020-11-27
申请公布
1970-01-01
授权
2021-09-28
预估到期
2030-11-27
| 申请号 | CN202022810209.8 |
| 申请日 | 2020-11-27 |
| 授权公布号 | CN214291010U |
| 授权公告日 | 2021-09-28 |
| 分类号 | B23B51/04 |
| 分类 | 机床;不包含在其他类目中的金属加工; |
| 申请人名称 | 江苏飞达钻头股份有限公司 |
| 申请人地址 | 江苏省镇江市丹阳市丹北镇后巷飞达村 |
专利法律状态
2021-09-28
授权
状态信息
授权
摘要
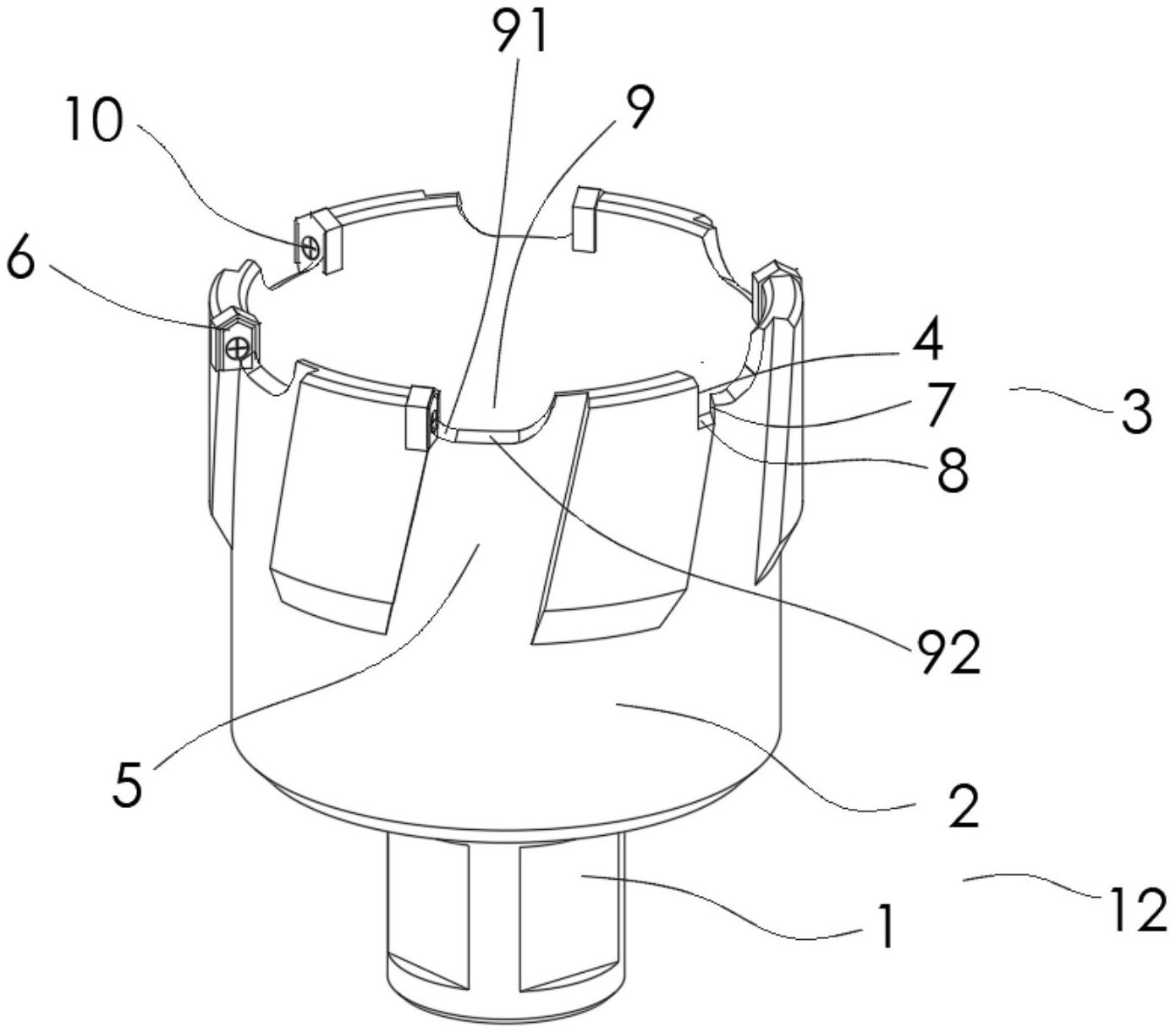
本实用新型公开了一种可换刀片式钢板钻,包括钢板钻本体,所述钢板钻本体包括切削端和刀柄,所述切削端和刀柄一体成型,所述切削端的顶部开设刀片安装槽;所述刀片安装槽包括刀片底面安装壁、刀片侧面安装壁、刀片前刀面安装壁;所述刀片底面安装壁上设有螺孔,所述刀片设置在刀片侧面安装壁上,并通过螺钉与刀片底面安装壁固定连接。本申请的钢板钻的刀片采用螺钉固定在刀片安装槽中,方便拆装更换。同时对刀片安装槽进行改进设置刀片底面安装壁、钢板钻排屑槽和端齿出屑槽,使得刀片在安装进刀片安装槽内时,能够得到端齿出屑槽上导屑R面的夹持力,防止刀片在切削时因顶部受力崩坏,钢板钻排屑槽能够有效对将刀片切削出的碎屑排出,防止卡钻。


