授权公布号:CN220636494U
一种具有散热功能的钻头生产加工设备
有效
申请
2023-08-24
申请公布
1970-01-01
授权
2024-03-22
预估到期
2033-08-24
| 申请号 | CN202322288079.X |
| 申请日 | 2023-08-24 |
| 授权公布号 | CN220636494U |
| 授权公告日 | 2024-03-22 |
| 分类号 | B23D47/04;B23D59/02 |
| 分类 | 机床;不包含在其他类目中的金属加工; |
| 申请人名称 | 江苏飞达钻头股份有限公司 |
| 申请人地址 | 江苏省镇江市丹阳市丹北镇后巷飞达村 |
专利法律状态
2024-03-22
授权
状态信息
授权
摘要
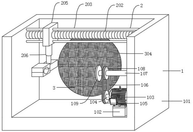
本实用新型涉及钻头生产加工技术领域,且公开了一种具有散热功能的钻头生产加工设备,包括主体机构、控制机构和散热机构,所述控制机构位于主体机构的内部,所述散热机构位于主体机构的内部,所述主体机构包括箱体、电机底座、第一电机、第一转轴、主动轮、皮带、转动轴、从动轮和锯片,所述电机底座的下端固定连接在箱体的内底壁,所述第一电机的下端固定连接在电机底座的上端,所述第一转轴的右端转动连接在第一电机的左端,所述主动轮的内壁固定连接在第一转轴的外圈,所述皮带转动连接在主动轮的外圈,该具有散热功能的钻头生产加工设备,通过控制机构的结构,便于该具有散热功能的钻头生产加工设备在实际使用时控制设备的便捷性。


