授权公布号:CN213730768U
一种抽拉式钻头收纳盒
有效
申请
2020-12-14
申请公布
1970-01-01
授权
2021-07-20
预估到期
2030-12-14
| 申请号 | CN202023000676.0 |
| 申请日 | 2020-12-14 |
| 授权公布号 | CN213730768U |
| 授权公告日 | 2021-07-20 |
| 分类号 | B23Q13/00;B25H3/02 |
| 分类 | 机床;不包含在其他类目中的金属加工; |
| 申请人名称 | 江苏飞达钻头股份有限公司 |
| 申请人地址 | 江苏省镇江市丹阳市后巷镇凯乐路飞达钻头股份有限公司包装设计部 |
专利法律状态
2021-07-20
授权
状态信息
授权
摘要
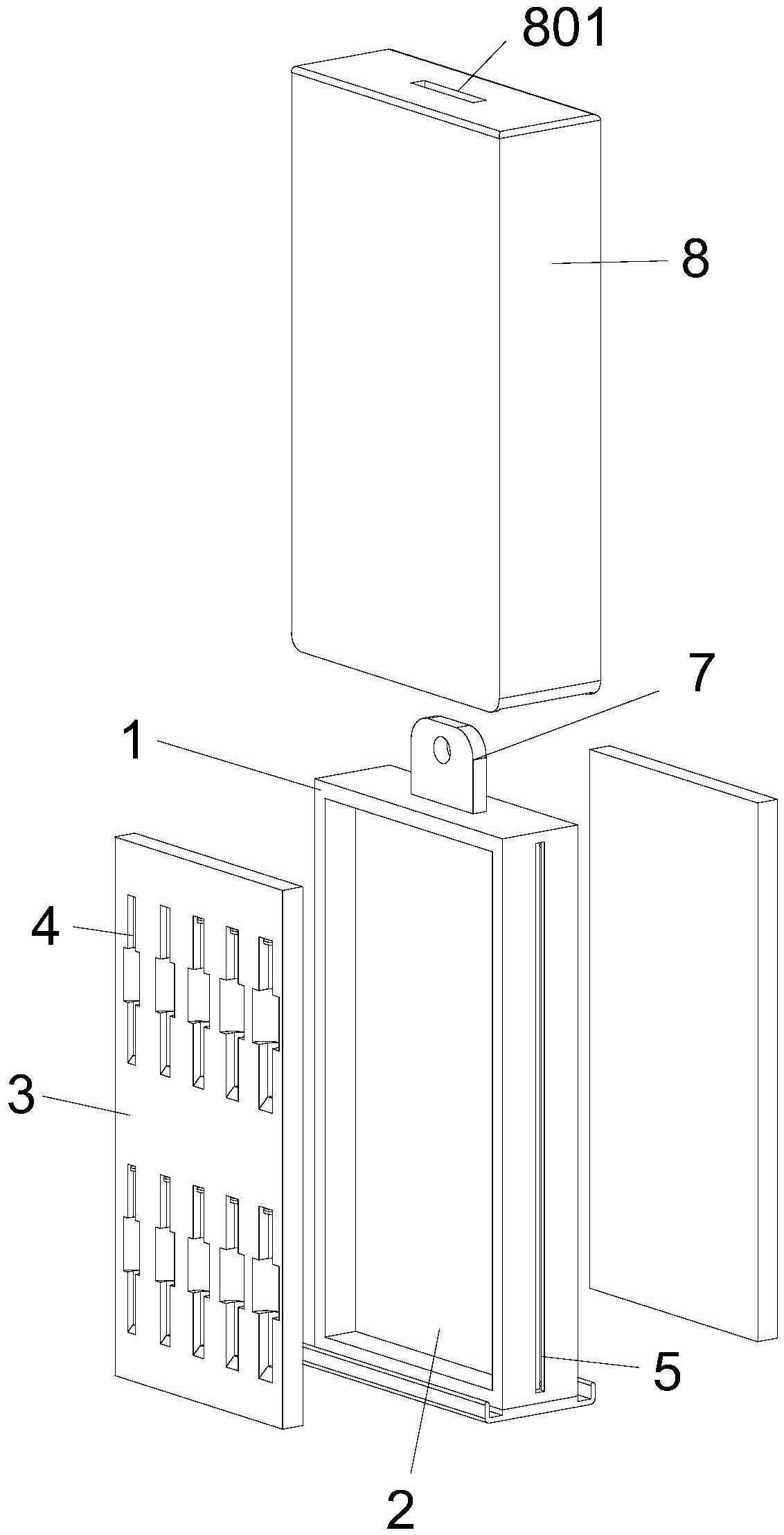
本实用新型公开了一种抽拉式钻头收纳盒,属于钻头收纳技术领域。一种抽拉式钻头收纳盒,包括收纳盒体,所述收纳盒体呈矩形结构设置,所述收纳盒体前后两端均向内开设有凹槽,所述凹槽内部设有收纳板,所述收纳板上设有收纳组件,所述收纳盒体左右两端中部均竖直开设有滑槽,所述滑槽上下两侧均设有固定组件,所述收纳盒体顶端中部固设有琐扣,所述收纳盒体外侧套设有密封盒盖,所述密封盒盖顶端中部相对于琐扣的位置开设有连接孔。本实用新型在收纳板上开设了多个固定槽,便于收纳钻头,又在固定槽的中部开设了扩展槽,方便取放钻头,此外,还将固定槽底端呈倾斜结构设置,增加了取放钻头的方式。


