授权公布号:CN218488031U
整合旋转轴和法兰压板的结构及使用该结构的角磨机
有效
申请
2022-01-20
申请公布
1970-01-01
授权
2023-02-17
预估到期
2032-01-20
| 申请号 | CN202220159351.7 |
| 申请日 | 2022-01-20 |
| 授权公布号 | CN218488031U |
| 授权公告日 | 2023-02-17 |
| 分类号 | B24B23/02;B24B55/00 |
| 分类 | 磨削;抛光; |
| 申请人名称 | 麦太保电动工具(中国)有限公司 |
| 申请人地址 | 上海市闵行区浦江工业园区三鲁路3585号7幢 |
专利法律状态
2023-02-17
授权
状态信息
授权
摘要
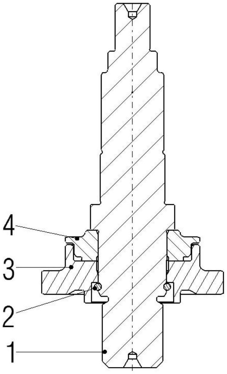
本申请公开了整合旋转轴和法兰压板的结构及使用该结构的角磨机,包括用于连接角磨机和磨切片的输出轴,输出轴后端连接角磨机,前端连接磨切片和锁紧螺母,其特征在于,输出轴的中部设有支撑台阶,输出轴上自支撑台阶至前端依次套设楔形法兰、夹紧法兰、磨切片和锁紧螺母,夹紧法兰一部分套设在输出轴上,另一部分套设在楔形法兰上;楔形法兰的外壁上设有正向旋转的外斜面,夹紧法兰的内壁上设有配合外斜面的内斜面。角磨机在高速运转并迅速停止过程中,夹紧法兰及楔形法兰相对运动并在轴向法向方向产生位移,从而增加夹紧法兰与锁紧螺母的锁紧力,避免锁紧螺母松动,解决安全问题。


