授权公布号:CN218831036U
分离式高压无刷电动工具
有效
申请
2022-12-02
申请公布
1970-01-01
授权
2023-04-07
预估到期
2032-12-02
| 申请号 | CN202223235684.2 |
| 申请日 | 2022-12-02 |
| 授权公布号 | CN218831036U |
| 授权公告日 | 2023-04-07 |
| 分类号 | H05K7/14;H05K7/10;B25F5/00 |
| 分类 | 其他类目不包含的电技术; |
| 申请人名称 | 江苏铁锚工具股份有限公司 |
| 申请人地址 | 江苏省南通市海门区包场镇铁锚路88号内10号房 |
专利法律状态
2023-08-25
专利申请权、专利权的转移
状态信息
专利权的转移;IPC(主分类):H05K7/14;专利号:ZL2022232356842;登记生效日:20230809;变更事项:专利权人;变更前权利人:江苏铁锚工具股份有限公司;变更后权利人:江苏腾亚铁锚工具有限公司;变更事项:地址;变更前权利人:226000 江苏省南通市海门市滨海新区铁锚路88号;变更后权利人:226100 江苏省南通市海门区包场镇铁锚路88号内10号房
2023-04-07
授权
状态信息
授权
摘要
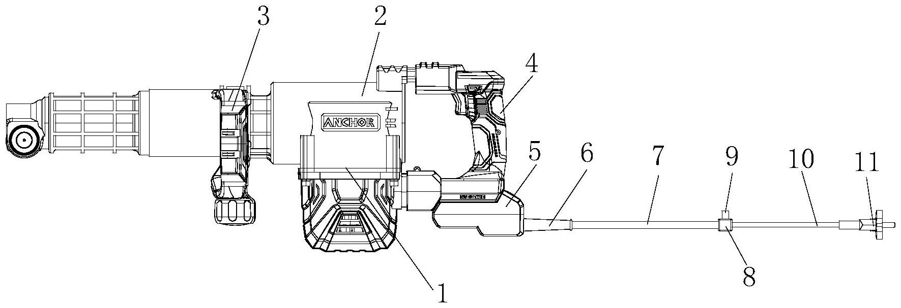
本实用新型涉及电动工具技术领域,且公开了分离式高压无刷电动工具,包括机壳,所述机壳内部设置有主机和齿轮箱,机壳的外部分别设置有辅助操作手柄和手把,所述机壳内部后侧靠近手把位置处设置有高压包,所述机壳的后侧通过护套固定安装有马达控制相线,所述马达控制相线的自由端固定安装有电源线,所述马达控制相线和电源线的连接位置处设置有公共控制模块。外部功率元件的插件通过可插拔功率元器件完成插拔更换,使设备可以根据外部高压无刷产品的功率要求来更换不同的外部功率元件插件,通过设置的可插拔功率元器件与电流控制模块、程序控制模块相互间的配合,提高设备的适用范围,使主机可以适用于不同功率高压产品。


