授权公布号:CN213381661U
一种改进的电动剪刀
有效
申请
2020-09-27
申请公布
1970-01-01
授权
2021-06-08
预估到期
2030-09-27
| 申请号 | CN202022152013.4 |
| 申请日 | 2020-09-27 |
| 授权公布号 | CN213381661U |
| 授权公告日 | 2021-06-08 |
| 分类号 | B26B15/00 |
| 分类 | 手动切割工具;切割;切断; |
| 申请人名称 | 江苏铁锚工具股份有限公司 |
| 申请人地址 | 江苏省南通市海门区包场镇铁锚路88号内10号房 |
专利法律状态
2023-08-15
专利申请权、专利权的转移
状态信息
专利权的转移;IPC(主分类):B26B15/00;登记生效日:20230802;变更事项:专利权人;变更前:江苏铁锚工具股份有限公司;变更后:江苏腾亚铁锚工具有限公司;变更事项:地址;变更前:226000 江苏省南通市海门区滨海新区铁锚路88号;变更后:226100 江苏省南通市海门区包场镇铁锚路88号内10号房
2021-06-08
授权
状态信息
授权
摘要
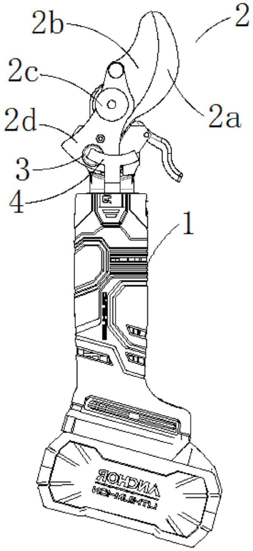
一种改进的电动剪刀,包括手柄部和刀头,所述手柄部包括一容纳传动部件的容纳腔,所述刀头与传动部件的外端相连并处于所述手柄部的外侧;所述刀头包括定刀片和动刀片,所述定刀片和动刀片通过铰轴铰接,所述动刀片外侧固定设置有摆齿,所述摆齿下端与设置在所述手柄部内的传动部件动力相连,所述摆齿的外立面设有凹槽;压块组件的一端卡在所述凹槽内,另一端被压杆压住,所述压杆的下端卡在所述手柄部内,本实用新型具有结构紧凑,采用一颗平面轴承压住刀头的动刀片,防止剪刀在工作过程中产生的反向作用力使得动刀片起翘,平面轴承上方增加一个耐磨的金属片起到耐磨的作用,延长使用寿命。


