授权公布号:CN220592764U
一种角磨机的主轴结构
有效
申请
2023-07-20
申请公布
1970-01-01
授权
2024-03-15
预估到期
2033-07-20
| 申请号 | CN202321924148.5 |
| 申请日 | 2023-07-20 |
| 授权公布号 | CN220592764U |
| 授权公告日 | 2024-03-15 |
| 分类号 | B24B41/04;B24B23/02 |
| 分类 | 磨削;抛光; |
| 申请人名称 | 锐奇控股股份有限公司 |
| 申请人地址 | 上海市松江区新桥镇新茸路5号 |
专利法律状态
2024-03-15
授权
状态信息
授权
摘要
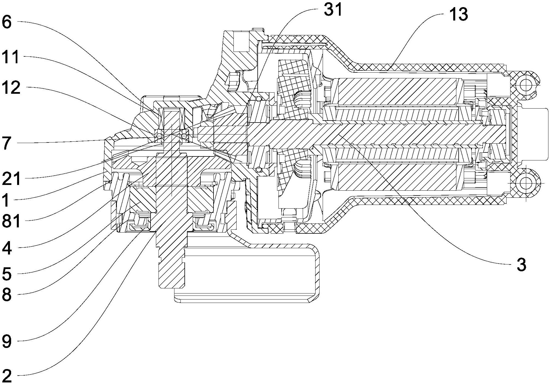
本实用新型涉及角磨机领域,涉及一种角磨机的主轴结构,本实用新型包括:齿轮箱、主轴和驱动组件,所述主轴设置于齿轮箱内部,所述主轴中部设有前轴承,所述主轴上设有大齿轮且位于前轴承上端,所述驱动组件设置于齿轮箱右侧并与大齿轮传动连接,所述主轴上端位于齿轮箱的腔体一内,所述腔体一下端连通有腔体二,所述主轴顶部设有滚针轴承,所述滚针轴承设于腔体一内,所述主轴上设有位于滚针轴承下端的球轴承,所述球轴承位于腔体二内,所述主轴上设有环形限位部,所述环形限位部设置于球轴承下端,通过滚针轴承以及下端的球轴承进行配合使用,解决了单一滚针轴承使用间隙较大的问题,既能减少振动,又能满足载荷力,在发热上也能改善。


