授权公布号:CN219053536U
一种防螺钉漏打装置
有效
申请
2022-12-19
申请公布
1970-01-01
授权
2023-05-23
预估到期
2032-12-19
| 申请号 | CN202223406150.1 |
| 申请日 | 2022-12-19 |
| 授权公布号 | CN219053536U |
| 授权公告日 | 2023-05-23 |
| 分类号 | B23P23/00;B23P21/00 |
| 分类 | 机床;不包含在其他类目中的金属加工; |
| 申请人名称 | 锐奇控股股份有限公司 |
| 申请人地址 | 上海市松江区新桥镇新茸路5号 |
专利法律状态
2023-05-23
授权
状态信息
授权
摘要
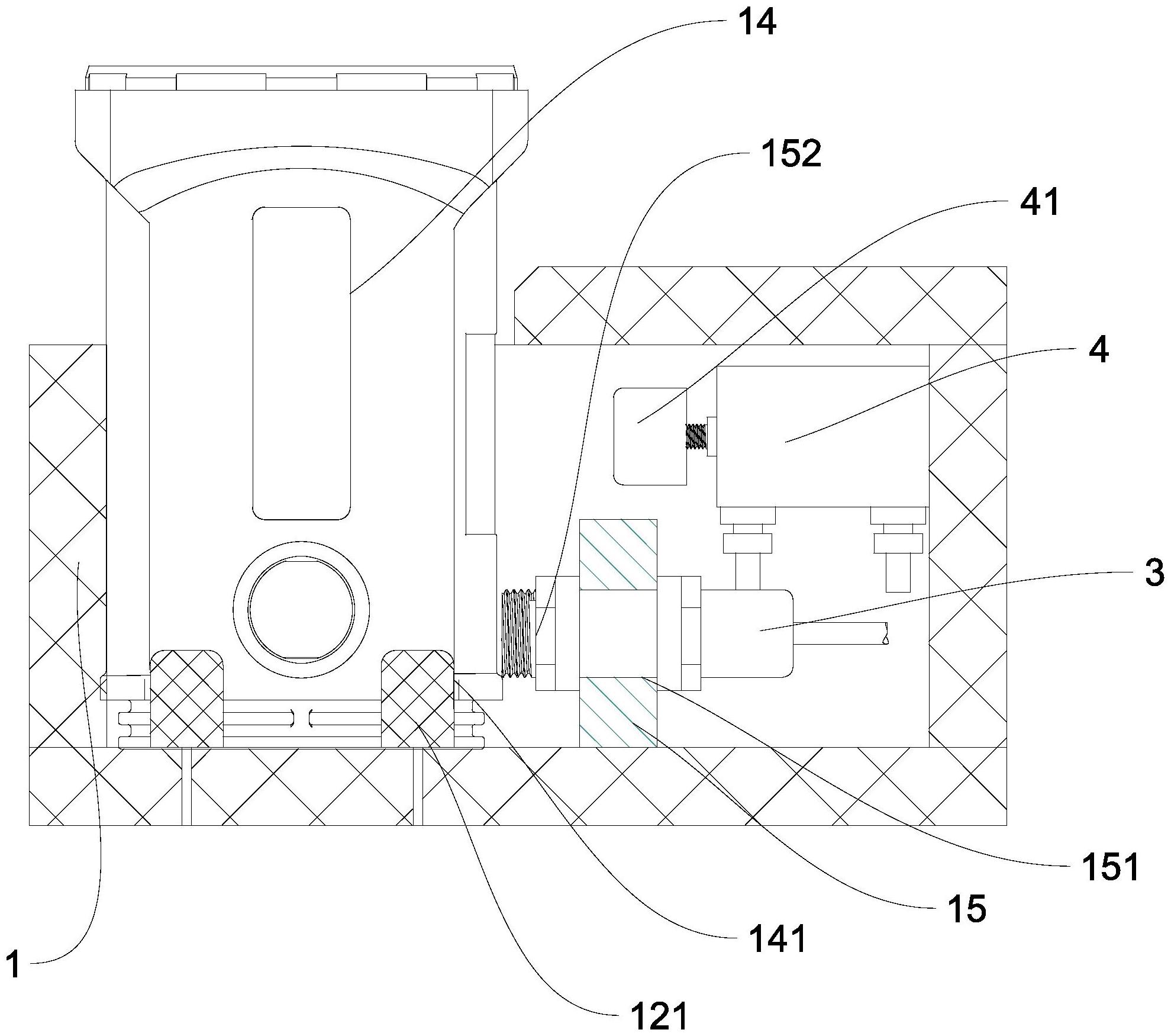
本实用新型涉及工装技术领域,涉及一种防螺钉漏打装置,本实用新型包括:箱体、控制箱和电动螺丝刀,所述箱体上端设有开口,所述箱体内部设有连通的腔体一和腔体二,所述开口与腔体一连通,所述腔体一用于容纳机壳,所述腔体二内安装有光电开关与气缸,所述控制箱包括MCU控制器、继电器组、电磁阀和电源,所述电动螺丝刀、继电器组、光电开关和电源均与MCU控制器电信号连接,所述电磁阀与继电器组电信号连接,所述气缸与电磁阀电信号连接,通过电动螺丝刀来完成螺钉的打到位,通过控制器、继电器、电磁阀、气缸以及电动螺丝刀联合控制,使得螺钉打完且打到位后解除机壳的锁定,防止螺钉漏打和打不到位的情况产生,减少人工自检工序。


