授权公布号:CN213902129U
一种检测模板
有效
申请
2020-10-28
申请公布
1970-01-01
授权
2021-08-06
预估到期
2030-10-28
| 申请号 | CN202022441168.X |
| 申请日 | 2020-10-28 |
| 授权公布号 | CN213902129U |
| 授权公告日 | 2021-08-06 |
| 分类号 | G01B5/00 |
| 分类 | 测量;测试; |
| 申请人名称 | 上海途泰工业工具有限公司 |
| 申请人地址 | 上海市松江区莘砖公路518号26号厂房 |
专利法律状态
2021-08-06
授权
状态信息
授权
摘要
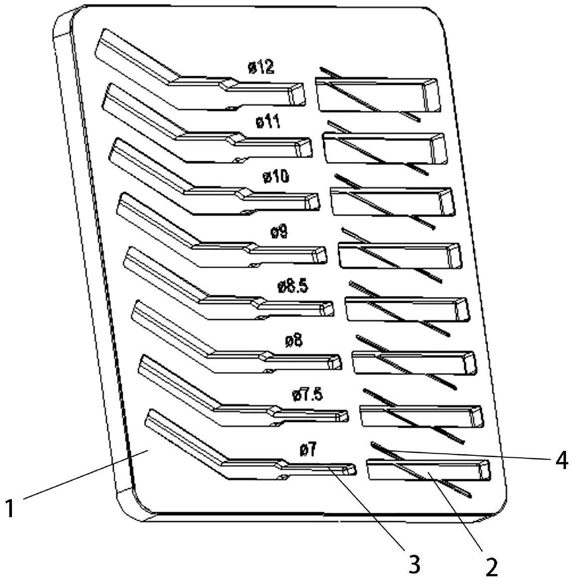
本实用新型提供一种检测模板,包括:模板本体;检测部,其设置在所述模板本体上,所述检测部具有检测腔室;其中,当所述待测物能够置入所述检测腔室,并能够相对其顺利滑动至位于所述检测腔室内的目标位置时,表征所述待测物能够被物料输送装置中的指定输送管道顺利输送,所述指定输送管道的尺寸规格及外形与所述检测腔室的尺寸规格及外形对应匹配,所述指定输送管道的尺寸规格为能够顺利输送所述待测物的最小尺寸规格。本实用新型的检测模板,用于快速准确地确定出能够顺利输送待测物的最小输送管道尺寸。


