授权公布号:CN215968118U
一种用于生产金属工具的抛光装置
有效
申请
2021-07-16
申请公布
1970-01-01
授权
2022-03-08
预估到期
2031-07-16
| 申请号 | CN202121616968.9 |
| 申请日 | 2021-07-16 |
| 授权公布号 | CN215968118U |
| 授权公告日 | 2022-03-08 |
| 分类号 | B24B29/02;B24B29/00;B24B27/00;B24B57/02;B24B41/06 |
| 分类 | 磨削;抛光; |
| 申请人名称 | 山东邦克工具有限公司 |
| 申请人地址 | 山东省临沂市兰山区临沂百年建材五金机电城B1号楼 |
专利法律状态
2022-03-08
授权
状态信息
授权
摘要
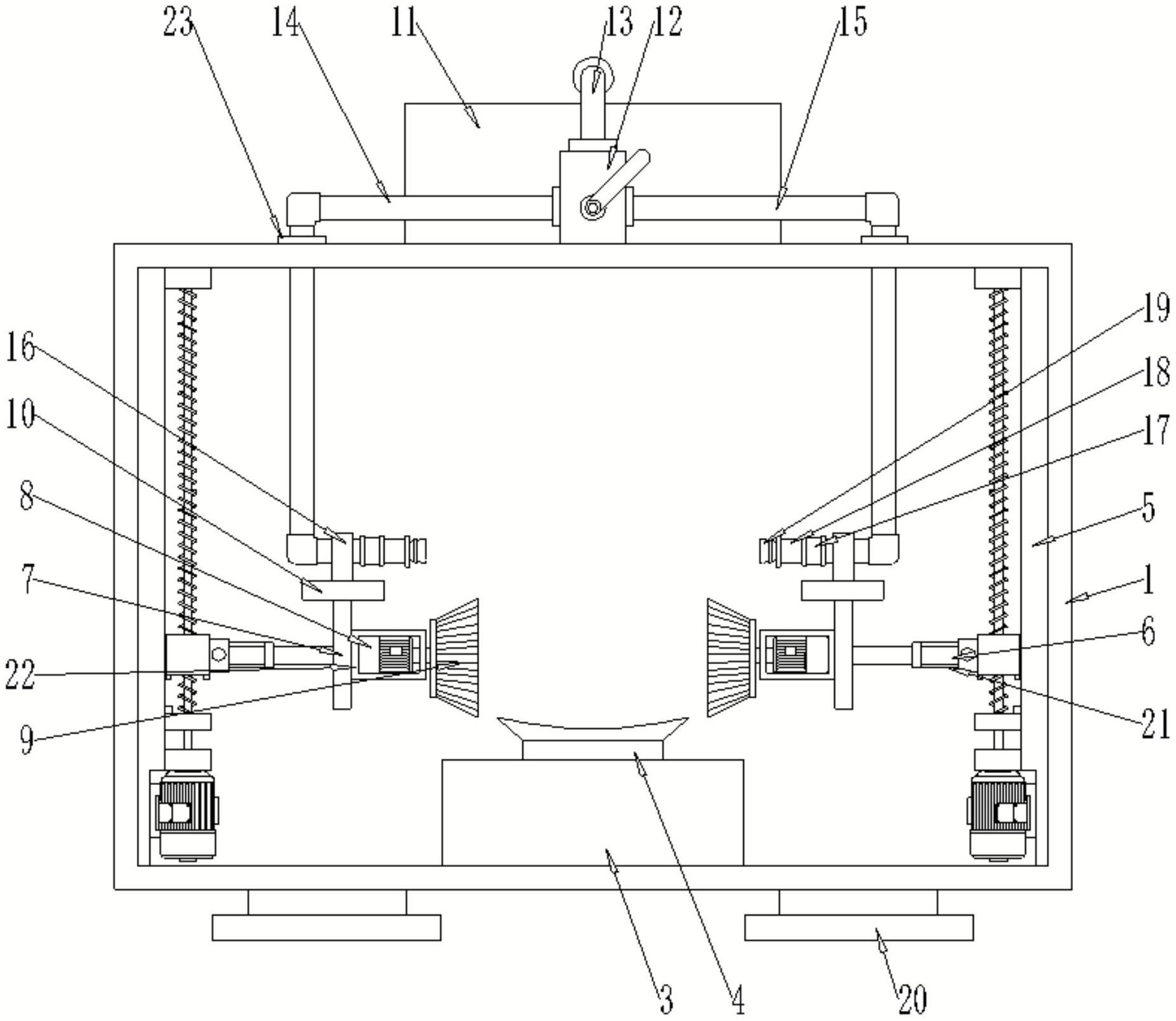
本实用新型公开了一种用于生产金属工具的抛光装置,包括抛光箱,所述抛光箱内设有抛光结构;抛光结构包含有:门体、支撑台、强力吸盘、一对丝杠模组、一对电动推杆、一对连接板、一对电机、一对抛光刷、一对固定板、抛光膏存放箱以及喷射组件;所述门体安装在所述抛光箱上,所述支撑台安装在所述抛光箱内下壁面上,所述强力吸盘安装在所述支撑台上,一对所述丝杠模组分别安装在所述抛光箱内左壁面和右壁面上,本实用新型涉及金属工具抛光技术领域,解决了现有的在针对小批量的金属工具生产时,往往采用人工和机器配合的方式,并且为了使抛光效果更好,均采用人为涂抹抛光膏的问题。


