授权公布号:CN215766750U
一种测量过程中不易脱落的钢卷尺
有效
申请
2021-07-02
申请公布
1970-01-01
授权
2022-02-08
预估到期
2031-07-02
| 申请号 | CN202121517241.5 |
| 申请日 | 2021-07-02 |
| 授权公布号 | CN215766750U |
| 授权公告日 | 2022-02-08 |
| 分类号 | G01B3/10 |
| 分类 | 测量;测试; |
| 申请人名称 | 山东邦克工具有限公司 |
| 申请人地址 | 山东省临沂市河东区凤仪街791号 |
专利法律状态
2022-02-08
授权
状态信息
授权
摘要
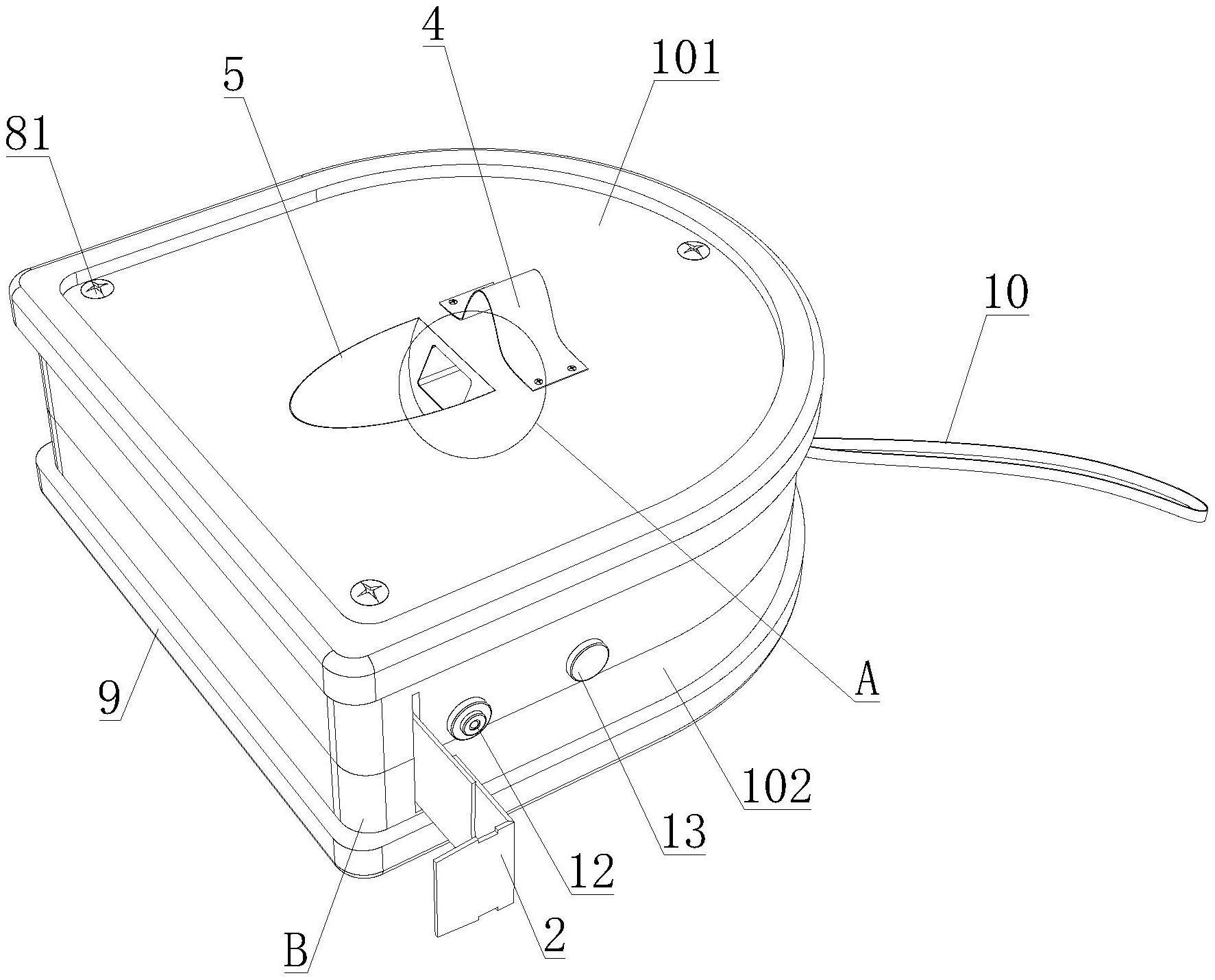
本实用新型涉及测量工具技术领域,尤其涉及一种测量过程中不易脱落的钢卷尺,其包括安装壳体及设置在安装壳体内部的卷尺本体;安装壳体上开设有供卷尺本体一端活动贯穿的穿孔,安装壳体包括上壳体与下壳体,上壳体与下壳体之间通过多个第一固定螺丝实现可拆卸连接,安装壳上设置有松紧带,松紧带的两端均通过多个第二固定螺丝与安装壳体连接,与松紧带同侧的安装壳体上开设有上端槽,上端槽的内部且邻近松紧带的一侧连通设置有插槽,安装壳体上设置有精准定位装置。本实用新型结构简单,使用方便,大大提升了对卷尺的握持效果,从而避免了卷尺掉落。


